ГОСТ 33190-2019. Межгосударственный стандарт. Вагоны пассажирские локомотивной тяги и моторвагонный подвижной состав. Технические требования для перевозки инвалидов и методы контроля" (введен в действие Приказом Росстандарта от 10.12.2019 N 1366-ст)
МЕЖГОСУДАРСТВЕННЫЙ СТАНДАРТ
ВАГОНЫ ПАССАЖИРСКИЕ ЛОКОМОТИВНОЙ ТЯГИ
И МОТОРВАГОННЫЙ ПОДВИЖНОЙ СОСТАВ
ТЕХНИЧЕСКИЕ ТРЕБОВАНИЯ
ДЛЯ ПЕРЕВОЗКИ ИНВАЛИДОВ И МЕТОДЫ КОНТРОЛЯ
Passenger cars on locomotive traction and railcars.
Technical requirements for transportation of disabled
persons and methods of control
МКС 45.060
1 марта 2020 года
Предисловие
Цели, основные принципы и общие правила проведения работ по межгосударственной стандартизации установлены ГОСТ 1.0 "Межгосударственная система стандартизации. Основные положения" и ГОСТ 1.2 "Межгосударственная система стандартизации. Стандарты межгосударственные, правила и рекомендации по межгосударственной стандартизации. Правила разработки, принятия, обновления и отмены"
Сведения о стандарте
- РАЗРАБОТАН Федеральным государственным унитарным предприятием "Всероссийский научно-исследовательский институт железнодорожной гигиены Федеральной службы по надзору в сфере защиты прав потребителей и благополучия человека" (ФГУП ВНИИЖГ Роспотребнадзора), Открытым акционерным обществом "Тверской вагоностроительный завод" (ОАО "ТВЗ")
- ВНЕСЕН Федеральным агентством по техническому регулированию и метрологии
- ПРИНЯТ Межгосударственным советом по стандартизации, метрологии и сертификации (протокол от 28 ноября 2019 г. N 124-П)
За принятие проголосовали:
| Краткое наименование страны по МК (ИСО 3166) 004-97 | Код страны по МК (ИСО 3166) 004-97 | Сокращенное наименование национального органа по стандартизации |
| Армения | AM | ЗАО "Национальный орган по стандартизации и метрологии" Республики Армения |
| Беларусь | BY | Госстандарт Республики Беларусь |
| Казахстан | KZ | Госстандарт Республики Казахстан |
| Киргизия | KG | Кыргызстандарт |
| Россия | RU | Росстандарт |
| Узбекистан | UZ | Узстандарт |
4 Приказом Федерального агентства по техническому регулированию и метрологии от 10 декабря 2019 г. N 1366-ст межгосударственный стандарт ГОСТ 33190-2019 введен в действие в качестве национального стандарта Российской Федерации с 1 марта 2020 г.
5 ВЗАМЕН <1> ГОСТ 30795-2001, ГОСТ 30796-2001, ГОСТ 33327-2015 (в части требований пунктов 9.1.10 - 9.1.15, 21.3.4)
--------------------------------
<1> В Российской Федерации настоящий стандарт действует взамен ГОСТ Р 50955-96, ГОСТ Р 50956-96, ГОСТ Р 50957-96, ГОСТ Р 55434-2013 (в части требований пункта 10.6 и приложения К), ГОСТ Р 55182-2012 (в части требований пунктов 4.1.15 - 4.1.17).
6 Настоящий стандарт может быть применен на добровольной основе для соблюдения требований технических регламентов "О безопасности железнодорожного подвижного состава" и "О безопасности высокоскоростного железнодорожного транспорта"
Информация о введении в действие (прекращении действия) настоящего стандарта и изменений к нему на территории указанных выше государств публикуется в указателях национальных стандартов, издаваемых в этих государствах, а также в сети Интернет на сайтах соответствующих национальных органов по стандартизации.
В случае пересмотра, изменения или отмены настоящего стандарта соответствующая информация будет опубликована на официальном интернет-сайте Межгосударственного совета по стандартизации, метрологии и сертификации в каталоге "Межгосударственные стандарты"
1. Область применения
Настоящий стандарт распространяется на пассажирские вагоны локомотивной тяги и вагоны моторвагонного подвижного состава железных дорог, предназначенные для проезда пассажиров-инвалидов, в том числе в инвалидных креслах-колясках, состояние здоровья которых ограничивает их способность к передвижению (далее - вагоны).
Настоящий стандарт устанавливает технические требования к конструкции, оборудованию, системам и устройствам вагонов, обеспечивающие доступность и безопасность для пассажиров-инвалидов, и методы их контроля.
2. Нормативные ссылки
В настоящем стандарте использованы нормативные ссылки на следующие межгосударственные стандарты:
ГОСТ 12.0.004-2015 Система стандартов безопасности труда. Организация обучения безопасности труда. Общие положения
ГОСТ 166 Штангенциркули. Технические условия
ГОСТ 427 Линейки измерительные металлические. Технические условия
ГОСТ 7502 Рулетки измерительные металлические. Технические условия
ГОСТ 9238 Габариты железнодорожного подвижного состава и приближения строений
ГОСТ 15150 Машины, приборы и другие технические изделия. Исполнения для различных климатических районов. Категории, условия эксплуатации, хранения и транспортирования части воздействия климатических факторов внешней среды
ГОСТ 30471-96 Кресла-коляски. Максимальные габаритные размеры
ГОСТ 33788 Вагоны грузовые и пассажирские. Методы испытаний на прочность и динамические качества
ГОСТ 33463.4 Системы жизнеобеспечения на железнодорожном подвижном составе. Часть 4. Методы испытаний по определению показателей искусственного освещения
Примечание - При пользовании настоящим стандартом целесообразно проверить действие ссылочных документов на официальном интернет-сайте Межгосударственного совета по стандартизации, метрологии и сертификации (www.easc.by) или по указателям национальных стандартов, издаваемых в государствах, указанных в предисловии, или на официальных сайтах соответствующих национальных органов по стандартизации. Если на ссылочный документ дана недатированная ссылка, то следует использовать документ, действующий на текущий момент, с учетом всех внесенных в него изменений. Если заменен ссылочный документ, на который дана датированная ссылка, то следует использовать указанную версию данного документа. Если после принятия настоящего стандарта в ссылочный документ, на который дана датированная ссылка, внесено изменение, затрагивающее положение, на которое дана ссылка, то это положение применяется без учета данного изменения. Если ссылочный документ отменен без замены, то положение, в котором дана ссылка на него, применяется в части, не затрагивающей эту ссылку.
3. Термины и определения
В настоящем стандарте применены следующие термины с соответствующими определениями:
3.1 пассажиры-инвалиды: Лица с полной или частичной утратой способности или возможности осуществлять самообслуживание, самостоятельно передвигаться, ориентироваться, общаться и контролировать свое поведение, но которым не противопоказано пользоваться общественным транспортом, в том числе лица с нарушением:
- опорно-двигательных функций (передвигающиеся в креслах-колясках, на протезах, костылях, ходунках и т.п.);
- функции зрения и/или слуха.
Примечание - Для целей настоящего стандарта принимаются во внимание пассажиры-инвалиды, не требующие специального медицинского обслуживания, связанного с дополнительным оснащением вагона медицинским оборудованием или приспособлениями для его размещения (приборные стойки, штативы, медицинские светильники и т.п.).
3.2 беспрепятственная посадка (высадка) пассажира-инвалида в вагон: Передвижение пассажира-инвалида самостоятельно или с сопровождающим лицом с высоких, низких и/или) средних пассажирских платформ в вагон, которое совершается с помощью вспомогательных посадочных устройств.
Примечание - Если низкие (средние) пассажирские платформы оборудованы специальными посадочными приспособлениями, то посадка с таких платформ рассматривается как посадка с высоких пассажирских платформ.
3.3 беспрепятственный доступ пассажира-инвалида к месту размещения в вагоне или санузлу: Передвижение пассажира-инвалида самостоятельно или с сопровождающим лицом по вагону, совершаемое без необходимости преодолевать препятствия высотой более 30 мм, зазоры более 100 мм и уклоны более 6%.
3.4 инвалидное кресло-коляска (кресло-коляска): Устройство для обеспечения мобильности за счет колес, оснащенное системой поддержки сиденья, предназначенное для передвижения пассажира-инвалида и не являющееся штатным оборудованием вагона.
Примечания
- Вспомогательное техническое средство с колесами, предназначенное для облегчения ходьбы, креслом-коляской не является.
- Для целей настоящего стандарта рассматриваются инвалидные кресла-коляски, габаритные размеры которых не превышают установленных в ГОСТ 30471-96 (пункт 4.2).
3.5 вспомогательное посадочное устройство: Техническое устройство, являющееся штатным оборудованием вагона и предназначенное для обеспечения прохода (проезда) пассажиров-инвалидов, в том числе в креслах-колясках, при посадке (высадке) в вагон (из вагона).
3.6 подъемное устройство: Вспомогательное посадочное устройство, имеющее горизонтальную площадку для размещения пассажира-инвалида в кресле-коляске и сопровождающего, которое обеспечивает движение вверх-вниз и при необходимости вперед-назад.
3.7 рампа: Вспомогательное посадочное устройство, поверхность которого перекрывает пространство (горизонтальный зазор) между посадочной площадкой пассажирской платформы и поверхностью пола вагона (порогом наружных входных дверей вагона), обеспечивающее возможность прохода (проезда) пассажиров-инвалидов в вагон.
Примечания
1 Применяемые для целей настоящего стандарта рампы могут быть выдвижными, откидными или приставными.
2 Приставная рампа устанавливается для прохода (проезда) пассажиров-инвалидов в вагон вручную.
3.8 рабочее положение вспомогательного посадочного устройства: Положение вспомогательного посадочного устройства, при котором оно готово к подъему (перемещению в вагон) и опусканию (перемещению из вагона на пассажирскую платформу) пассажира-инвалида.
3.9 транспортное положение вспомогательного посадочного устройства: Положение вспомогательного посадочного устройства, при котором оно не препятствует движению вагона.
3.10 удерживающая система крепления кресла-коляски: Совокупность устройств и оборудования, обеспечивающих крепление в вагоне кресла-коляски с находящимся в нем пассажиром-инвалидом при всех штатных ситуациях эксплуатации вагона.
3.11 опорное устройство: Вспомогательное техническое средство, предназначенное для опоры и поддержки пассажиров-инвалидов в процессе их передвижения при посадке (высадке) в вагон (из вагона) и внутри вагона во время поездки.
3.12
|
платформа пассажирская (железнодорожная): Благоустроенная площадка на станциях или остановочных пунктах для удобного и безопасного прохода, накопления, а также посадки пассажиров в вагоны и их высадки. [ГОСТ 33942-2016, пункт 3.16] |
Примечание - Платформы бывают высокие, средние и низкие (высота над уровнем верха головки рельса по ГОСТ 9238).
3.13 пассажирский салон (салон): Отделенная перегородками часть пассажирского вагона (или весь вагон при исполнении вагона без тамбура), предназначенная для размещения пассажиров, оборудованная местами для сидения и/или спальными местами.
3.14 пассажирское купе (купе): Закрывающееся дверью отдельное помещение в пассажирском вагоне, предназначенное для размещения нескольких пассажиров, как правило, двух или четырех.
3.15 тамбур: Часть вагона, огороженная перегородками, отделяющая вход в вагон от салона, кабины машиниста, багажного отсека, служебных помещений или коридора купейного вагона.
3.16 тормозной конец вагона: Конец пассажирского вагона локомотивной тяги с установкой привода ручного тормоза и/или котла (бойлера).
3.17 нетормозной конец вагона: Конец вагона, противоположный тормозному концу вагона.
3.18 вертикальная плоскость (в вагоне): Плоскость, перпендикулярная плоскости пола вагона.
3.19 горизонтальная плоскость (в вагоне): Плоскость, параллельная плоскости пола вагона.
3.20
|
визуальный контроль: Органолептический контроль, осуществляемый органами зрения. [ГОСТ 16504-81, пункт 114] |
4. Классификация
Пассажирские вагоны в отношении устанавливаемых к ним технических требований, обеспечивающих доступность для пассажиров-инвалидов, в зависимости от условий эксплуатации и технических характеристик этих вагонов подразделяют на следующие категории:
а) 1 - пассажирские вагоны моторвагонного подвижного состава, в том числе:
1) 1а - пассажирские вагоны моторвагонного подвижного состава дальнего следования;
2) 1б - пассажирские вагоны моторвагонного подвижного состава пригородного и городского сообщения;
б) 2 - пассажирские вагоны локомотивной тяги, в том числе:
1) 2а - пассажирские вагоны локомотивной тяги купейные со спальными местами;
2) 2б - пассажирские вагоны локомотивной тяги купейные с местами для сидения;
3) 2в - пассажирские вагоны локомотивной тяги открытого типа с креслами для сидения.
5. Общие требования
5.1 Конструкция и планировка вагонов, предназначенных для проезда пассажиров-инвалидов, должны обеспечивать:
а) беспрепятственную посадку (высадку) пассажиров-инвалидов, в том числе в креслах-колясках, самостоятельно или с лицом, сопровождающим инвалида, в вагон (из вагона);
б) беспрепятственный доступ пассажиров-инвалидов, в том числе в креслах-колясках, к местам своего размещения в вагоне;
в) размещение пассажиров-инвалидов в специально выделенной зоне в вагоне, оборудованной местами для установки кресел-колясок с находящимися в них пассажирами-инвалидами (в вагонах категории 1 и в вагонах категории 2в), или индивидуальными посадочными местами для проезда пассажиров-инвалидов на местах для сидения (в вагонах категории 2б) или спальными местами (в вагонах категории 2а) для проезда пассажиров-инвалидов на спальных местах;
г) беспрепятственный доступ пассажиров-инвалидов (в том числе в креслах-колясках) от места своего размещения в вагоне к санузлу, предназначенному для пользования пассажирами-инвалидами [при проектировании таких вагонов должна быть обеспечена необходимая площадь для маневрирования пассажиров-инвалидов в креслах-колясках в соответствии с рисунком А.1 (приложение А)];
д) беспрепятственное пользование пассажирами-инвалидами, в том числе в креслах-колясках, санузлом увеличенной площади.
5.2 Вагоны, предназначенные для проезда пассажиров-инвалидов, в том числе в креслах-колясках, должны быть оборудованы:
а) вспомогательными посадочными устройствами для входа и выхода пассажиров-инвалидов, соответствующими требованиям, установленным в разделе 7;
б) специальными средствами сигнализации, информации и связи, соответствующими требованиям, установленным в разделе 13;
в) санузлом, специально приспособленным для пользования пассажирами-инвалидами, в том числе пассажирами-инвалидами в креслах-колясках, в соответствии с требованиями, установленными в разделе 11;
г) проходами, соответствующими требованиям, установленным в разделе 9;
д) устройствами для крепления кресел-колясок.
5.3 Все опорные устройства (поручни, стойки и др.), а также элементы и устройства технических систем обслуживания, сигнализации (рычаги, рукоятки, ручки, кнопки, выключатели, розетки и др.), предназначенные для пользования пассажирами-инвалидами (в том числе в креслах-колясках) должны быть размещены с учетом зоны досягаемости инвалидов (в креслах-колясках или на пассажирских сиденьях).
Параметры размещения устройств, предназначенных для пользования пассажирами-инвалидами, должны определяться с учетом приложения В (рисунки В.1 - В.2).
5.4 Приборы и устройства управления и регулирования механизмами или техническими системами обслуживания, сигнализации (кнопки, рычаги, рукоятки, ручки, выключатели, розетки и др.), предназначенные для пользования пассажирами-инвалидами с нарушениями зрения, должны быть снабжены табличками с необходимой для пользования информацией, выполненной рельефно-точечным шрифтом (Брайля) в соответствии с требованиями 13.1.
5.5 Аварийные выходы и штатные средства аварийного спасения, предназначенные в том числе для пассажиров-инвалидов, рекомендуется предусматривать в зоне для пассажиров-инвалидов:
- в салоне вагона категории 1 и категории 2в в местах, расположенных в пассажирском салоне рядом со входом в вагон и санузлом, предназначенным для пассажиров-инвалидов;
- в вагонах категории 2а и категории 2б в купе и коридоре нетормозного конца вагона, соединяющем купе, санузел и тамбур.
5.6 Аварийные выходы в зоне пребывания пассажиров-инвалидов должны быть обозначены табличками с необходимой для пользования информацией, нанесенной контрастной маркировкой и рельефно-точечным шрифтом (Брайля).
Информационные таблички, выполненные с применением шрифта Брайля, устанавливаются на высоте от 1200 до 1600 мм от пола вблизи аварийного выхода.
В зонах размещения пассажиров-инвалидов должны быть таблички с информацией, в том числе нанесенной рельефно-точечным шрифтом (Брайля), о расположении средств аварийного спасения и пользовании ими.
Рекомендуется дополнительно использовать люминесцентную маркировку или световые и звуковые сигнальные устройства, имеющие надежную систему включения и энергопитания в аварийных ситуациях.
6. Требования к наружным входным дверям
6.1 Для обеспечения доступа в вагон пассажиров-инвалидов (в том числе в креслах-колясках) должно быть предусмотрено не менее одной наружной входной двери с каждой стороны вагона со следующими размерами дверного проема: ширина в свету не менее 800 мм и высота в свету не менее 1880 мм.
6.2 Наружные входные двери вагонов категории 1, предназначенные для обеспечения доступа в вагон пассажиров-инвалидов, должны быть оборудованы кнопками (внутри и снаружи вагона) для подачи сигнала машинисту и/или проводнику о перемещении через дверь пассажира-инвалида, а также иметь блокировку на время посадки (высадки) пассажира-инвалида (устройство, исключающее возможность закрытия дверей и приведения в движение подвижного состава, пока подъемное устройство не приведено в транспортное положение).
Примечание - Кнопки для подачи сигнала машинисту или проводнику о перемещении через дверь пассажира-инвалида одновременно являются кнопками сигнализации машинисту (проводнику) о необходимости приведения вспомогательного посадочного устройства в действие для обеспечения посадки (высадки) пассажиров-инвалидов.
6.2.1 Кнопки для подачи сигнала машинисту и/или проводнику о выходе пассажира-инвалида на следующей остановке должны размещаться внутри вагона на высоте от 800 до 1200 мм от уровня пола вагона в непосредственной близости от наружной входной двери вагона.
Допускается установка кнопок подачи сигнала машинисту и/или проводнику (о выходе пассажира на следующей остановке) в зоне размещения мест пассажиров-инвалидов в салоне вагона. Для информирования машиниста и/или проводника о выходе пассажира на следующей остановке допускается также использование переговорного устройства, указанного в 13.2, или использование кнопки вызова проводника (при ее наличии).
Кнопки для подачи сигнала машинисту и/или проводнику о перемещении через дверь пассажира-инвалида снаружи вагона должны устанавливаться на высоте от 800 до 1200 мм от поверхности пассажирской платформы.
Для подвижного состава, предназначенного для эксплуатации на маршрутах, оборудованных как высокими, так и низкими и/или средними платформами, должно быть предусмотрено не менее двух кнопок, обеспечивающих подачу сигнала как с высоких, так и низких и/или средних платформ.
6.2.2 Кнопки для подачи сигнала машинисту и/или проводнику должны иметь контрастную окраску по отношению к цвету стенки, на которой размещаются.
Рекомендуемая длина и ширина кнопок прямоугольного исполнения - не менее 20 мм, диаметр для круглого исполнения - не менее 25 мм.
Кнопки должны иметь рельефное или фактурное оформление рабочей поверхности, а также световую и звуковую сигнализацию, информирующую о том, что устройство сработало.
6.3 Наружные входные двери вагона категории 2 должны иметь устройство для их фиксации (блокировки) в открытом положении на время посадки (высадки) пассажира-инвалида (устройство, исключающее возможность закрытия дверей, пока подъемное устройство не приведено в транспортное положение).
У наружных боковых дверей нетормозного конца вагона должны быть установлены кнопки для вызова проводника снаружи вагона на высоте от 800 до 1200 мм от поверхности пассажирской платформы (с учетом уровня высоких, низких и/или средних пассажирских платформ), их исполнение - по 6.2.2.
6.4 В зоне боковых наружных дверей, предназначенных для посадки (высадки) пассажира-инвалида, вагон должен быть оборудован специальной наружной прерывистой звуковой сигнализацией, обеспечивающей определение местоположения входных дверей.
7. Требования к вспомогательным посадочным устройствам
7.1 Вагоны, предназначенные для проезда пассажиров-инвалидов, должны быть оборудованы вспомогательными посадочными устройствами - подъемными устройствами или рампами (откидными или выдвижными). Допускается применение в качестве вспомогательных посадочных устройств приставных рамп.
Конструкция вспомогательного посадочного устройства, применяемого для оборудования вагона, выбирается в зависимости от условий его эксплуатации (посадка с высоких и низких (средних) платформ, посадка только с высоких или только с низких (средних) платформ).
Вспомогательные посадочные устройства должны обеспечивать возможность посадки (высадки) пассажиров-инвалидов с обеих сторон вагона (по отношению к продольной оси вагона).
7.2 Вспомогательное посадочное устройство, находящееся в транспортном (нерабочем) положении, должно надежно фиксироваться, не должно препятствовать свободному входу пассажиров в вагон и выходу из него.
7.3 В транспортном положении вспомогательное посадочное устройство и его привод не должны выступать за пределы габарита вагона.
7.4 Подъемные устройства должны обеспечивать выполнение следующих требований:
- грузоподъемность подъемного устройства должна быть не менее 300 кг;
- ширина платформы подъемного устройства должна быть не менее 800 мм;
- длина платформы подъемного устройства с учетом откидных элементов, формирующих опорную поверхность (при их наличии), должна быть не менее 1400 мм;
- перепад высот между полом вагона и поверхностью платформы подъемного устройства (в рабочем положении), установленной на уровне пола вагона, должен быть не более 30 мм;
- горизонтальный зазор между порогом вагона и передним краем платформы подъемного устройства (в рабочем положении), установленной на уровне пола вагона, не должен превышать 30 мм;
- рабочая скорость движения платформы должна быть не более 0,15 м/с.
Допускаемая грузоподъемность подъемного устройства должна быть обозначена в зоне его размещения.
Подъемное устройство должно обеспечивать плавный (без рывков) подъем (опускание) инвалида в кресле-коляске.
7.4.1 Платформа подъемного устройства должна быть оборудована поручнями (расположенными как минимум с одного бокового края платформы), предназначенными для обеспечения опоры для пассажира-инвалида при перемещении подъемного устройства, и защитными боковыми барьерами или иными боковыми заграждающими устройствами, предназначенными для предотвращения скатывания коляски с платформы.
Рекомендуется установка парных поручней.
Примечание - Парными называются поручни в том случае, когда они расположены в одной плоскости параллельно друг другу и на различной высоте.
7.4.1.1 Длина рабочей поверхности поручня должна быть не менее половины длины платформы, нижняя часть рабочей поверхности поручня должна находиться на высоте не менее 750 мм от поверхности платформы, а верхняя часть рабочей поверхности поручня - на высоте не более 950 мм. Поручни должны иметь поперечное сечение, соответствующее требованиям 8.4.
Рекомендуется располагать поручни (рабочие поверхности поручней) на расстоянии от 200 до 250 мм от края платформы подъемного устройства, примыкающего к проему двери вагона.
Примечание - Под рабочей поверхностью поручня понимается свободная поверхность поручня, предназначенная для опоры и поддержки людей.
7.4.1.2 Защитные боковые барьеры должны быть высотой не менее 50 мм.
7.4.1.3 Поручни и защитные боковые барьеры устанавливаются с тех сторон платформы, где не происходит въезд-съезд пассажира-инвалида в кресле-коляске.
7.4.2 Платформа подъемного устройства должна быть оборудована откидным бортиком, предназначенным для обеспечения беспрепятственного доступа пассажира-инвалида на платформу подъемного устройства (и съезда с платформы подъемного устройства на пассажирскую платформу). Откидной бортик должен фиксироваться в закрытом (поднятом) положении для предотвращения скатывания пассажира-инвалида в кресле-коляске с платформы во время ее движения, высота зафиксированного бортика должна составлять не менее 50 мм.
7.4.3 Подъемное устройство должно быть оборудовано индивидуальным приводом и пультом управления, расположенным внутри вагона в непосредственной близости от входной наружной двери.
Система управления должна обеспечивать автоматическую остановку платформы при достижении уровня пола вагона и уровня пассажирской платформы.
Должна быть исключена возможность приведения подъемного устройства в рабочее положение без участия проводника (помощника машиниста).
Должна быть обеспечена возможность приведения подъемного устройства в действие вручную проводником (помощником машиниста). Усилие на рукоятке ручного привода подъемного устройства не должно превышать 100 Н.
7.5 Выдвижные (откидные), а также приставные рампы должны обеспечивать выполнение следующих требований:
- выдерживать нагрузку, эквивалентную массе 300 кг;
- иметь ширину рабочей поверхности не менее 800 мм и полностью перекрывать в рабочем положении расстояние между полом вагона и поверхностью пассажирской платформы;
- перепад высот между полом вагона и поверхностью выдвижной (откидной) или приставной рампы (в рабочем положении), а также между поверхностью выдвижной (откидной) или приставной рампы и пассажирской платформой должен быть не более 30 мм;
- уклон поверхности выдвижной (откидной) или приставной рампы в рабочем положении должен быть не более 15%;
- время полного цикла работы выдвижной рампы в автоматическом (штатном) режиме должно составлять не более 120 с.
Примечания
1 Под полным циклом работы выдвижной рампы понимается цикл работы выдвижной рампы, состоящий из приведения выдвижной рампы в рабочее положение и возвращения ее в транспортное положение. Продолжительность перемещения пользователя в кресле-коляске при определении времени полного цикла работы выдвижной рампы не учитывается.
2 Требования к времени полного цикла работы выдвижной рампы не распространяются на случаи приведения выдвижной рампы в действие вручную проводником (помощником машиниста).
7.5.1 Выдвижная (откидная) или приставная рампа должна быть оборудована защитными боковыми барьерами, высотой не менее 50 мм, предназначенными для предотвращения скатывания коляски и падения пассажира-инвалида.
7.5.2 Приведение в действие выдвижной (откидной) рампы может осуществляться:
- автоматически из кабины машиниста;
- с помощью пульта управления, расположенного внутри вагона в непосредственной близости от наружной входной двери вагона;
- механически поездным персоналом (проводником или помощником машиниста).
Установка в рабочее положение приставной рампы осуществляется поездным персоналом (проводником или помощником машиниста). Приставная рампа должна иметь устройство фиксации при установке в рабочее положение в дверях вагона.
Должна быть предусмотрена система блокировки, исключающая возможность приведения выдвижной (откидной) рампы в рабочее положение без участия проводника (помощника машиниста).
7.6 Опорная поверхность вспомогательного посадочного устройства должна препятствовать проскальзыванию колес кресел-колясок и опор других средств реабилитации во время движения пассажира-инвалида по ней.
7.7 Защитные боковые барьеры вспомогательных посадочных устройств, откидные бортики платформы подъемного устройства должны иметь цвета, контрастные по отношению к опорной поверхности этих устройств.
Рекомендуется окрашивать поверхность вспомогательного посадочного устройства в цвета, контрастные по отношению к полу вагона и поверхности пассажирской платформы, а на защитные боковые барьеры вспомогательных посадочных устройств, а также на откидной бортик платформы подъемного устройства (опорную поверхность) рекомендуется наносить чередующиеся желтые и черные или оранжевые и черные полосы под углом 45 - 60° к вертикали с расстоянием между ними 50 мм.
7.8 Зона наружных входных дверей вагонов, оборудованных вспомогательными посадочными устройствами, должна быть оснащена источниками искусственного освещения, обеспечивающими освещенность поверхности платформы подъемного устройства или рампы, находящихся в рабочем положении, не менее 10 лк.
7.9 Возле наружных входных дверей вагонов, оборудованных вспомогательным посадочным устройством, в пассажирском салоне (тамбуре) должна устанавливаться табличка с указаниями, необходимыми для правильной и безопасной эксплуатации вспомогательных посадочных устройств (инструкцией по пользованию вспомогательными посадочными устройствами) с поясняющими графическими изображениями (рисунками, схемами).
8. Требования к опорным устройствам
8.1 На входе в вагон должны быть предусмотрены поручни и стойки, имеющие такую конфигурацию и расположение, которые позволяют пассажирам-инвалидам держаться за них руками снаружи вагона во время посадки в вагон.
8.2 Поручни и стойки внутри пассажирского вагона не должны ограничивать пространство, предназначенное для маневрирования и разворота пассажиров-инвалидов в креслах-колясках в соответствии с рисунками А.1 (приложение А) и Б.2 (приложение Б) во время их перемещения от входной двери к месту их размещения, и не должны препятствовать движению других пассажиров.
8.3 Верхняя часть рабочей поверхности горизонтальных поручней в вагоне должна находиться на высоте от 800 до 1200 мм от уровня пола.
Рекомендуется устанавливать горизонтальные поручни на высоте от 900 до 1100 мм от уровня пола.
8.4 Поручни и стойки должны иметь круглое поперечное сечение диаметром от 30 до 45 мм или поперечное сечение некруглой формы (близкой к круглой, со скругленными углами), обеспечивающей эквивалентную охватываемую рукой поверхность.
8.5 Расстояние между поручнем (стойкой) и ближайшей поверхностью оборудования или стенкой в свету должно быть не менее 40 мм.
8.6 Минимальная длина рабочей поверхности опорного устройства должна быть не менее 100 мм.
Примечание - Под длиной рабочей поверхности опорного устройства понимается длина свободного участка опорного устройства в любом его положении для захвата всей кистью руки.
8.7 Для лучшего ориентирования лиц с ослабленным зрением при посадке и перемещении внутри вагона поручни и стойки должны иметь цвет, контрастный по отношению к цвету поверхности стен и пола пассажирского салона вагона.
9. Требования к пассажирскому вагону
9.1 Пол пассажирского вагона в местах размещения и передвижения пассажиров-инвалидов внутри вагона не должен иметь порогов (ступенек) выше 30 мм и уклонов свыше 6%. Поверхность пола должна иметь покрытие, препятствующее скольжению.
Для обеспечения указанных требований по беспрепятственному доступу пассажира-инвалида к месту размещения в вагоне или санузлу может быть предусмотрено устройство для подъема и перемещения пассажира-инвалида в вагоне, имеющее горизонтальную площадку для размещения пассажира-инвалида в кресле-коляске, которое обеспечивает движение вверх-вниз и при необходимости вперед-назад.
Устройство для подъема и перемещения пассажира-инвалида в вагоне (при наличии) должно обеспечивать выполнение следующих требований:
- грузоподъемность - не менее 300 кг;
- ширина горизонтальной площадки - не менее 800 мм;
- длина горизонтальной площадки - не менее 1400 мм;
- наличие поручней (как минимум с одного бокового края горизонтальной площадки) с параметрами, приведенными в 7.4.1.1, 7.4.1.3 и защитных боковых барьеров с параметрами по 7.4.1.2, 7.4.1.3;
- наличие на поверхности горизонтальной площадки покрытия из материала, предотвращающего проскальзывание колес кресел-колясок и опор других средств реабилитации (иных средств, предотвращающих проскальзывание) во время движения пассажира-инвалида по ней;
- контрастность цвета защитных барьеров по отношению к цвету поверхности горизонтальной площадки, контрастность цвета поверхности горизонтальной площадки к цвету поверхности пола вагона.
9.2 В пассажирском салоне вагонов категории 1 и категории 2в в зоне для размещения пассажиров-инвалидов должно быть предусмотрено не менее одного места для размещения пассажира-инвалида в кресле-коляске и не менее одного места для сопровождающего пассажира-инвалида лица, а также не менее двух мест для размещения пассажиров-инвалидов, не пользующихся креслами-колясками (лица с нарушением функции зрения или слуха, лица с нарушением опорно-двигательных функций, не пользующиеся креслами-колясками).
Допускается для удобства пассажиров-инвалидов ограждать полностью или частично зону для их размещения перегородками, обеспечивая при этом беспрепятственный доступ пассажира-инвалида к месту размещения или санузлу в соответствии с 9.4.
Примечание - Как правило, в моторвагонном подвижном составе места для размещения пассажиров-инвалидов в креслах-колясках оборудуются в каждом головном вагоне (не менее одного места на головной вагон). В случае оборудования местами для пассажиров-инвалидов только одного вагона, в этом вагоне предусматривается не менее двух мест для размещения пассажиров-инвалидов в креслах-колясках.
9.2.1 Места для размещения пассажиров-инвалидов, в том числе в креслах-колясках, должны быть расположены в пассажирском салоне рядом со входом в вагон и санузлом, предназначенным для пассажиров-инвалидов, таким образом, чтобы не препятствовать входу (выходу) и перемещению по салону других пассажиров.
9.2.2 Места для размещения пассажиров-инвалидов должны быть оборудованы опорными устройствами, удерживающей системой крепления кресла-коляски, соответствующей требованиям раздела 12, стационарными сиденьями для пассажиров-инвалидов, не пользующихся креслами-колясками, откидными или стационарными сиденьями для сопровождающих. В качестве стационарных сидений для пассажиров-инвалидов, не пользующихся креслами-колясками, стационарных сидений для сопровождающих применяют кресла-сиденья, соответствующие креслам-сиденьям вагона.
При наличии ограждения зоны для пассажиров-инвалидов (см. 9.2) допускается для удобства размещения пассажира-инвалида оборудовать эту зону спальным местом (диваном). В этом случае может быть предусмотрено устройство для крепления кресла-коляски в соответствии с 10.1.2, должно быть предусмотрено сиденье для сопровождающего.
Устройство связи "Пассажир-машинист" ("Пассажир-проводник") должно находиться в непосредственной близости от мест размещения пассажиров-инвалидов в соответствии с 13.2.
Допускается зону для размещения пассажира-инвалида в кресле-коляске оборудовать откидными сиденьями для проезда пассажиров в случае, когда эта зона не занята креслом-коляской.
9.2.3 Размеры места (площадки) для размещения пассажира-инвалида в кресле-коляске должны соответствовать размерам, приведенным в приложении Б (рисунок Б.1, вариант 2).
9.2.4 Места размещения кресел-колясок (с находящимися в них инвалидами) предусматривают таким образом, чтобы инвалид, находящийся в кресле-коляске, располагался лицом (или спиной) по направлению движения.
Допускается расположение кресел-колясок (с находящимися в них инвалидами) в направлении, при котором инвалид, находящийся в кресле-коляске, располагается боком к направлению движения, при условии дополнительного оборудования мест размещения защитными ограждениями (поручнями).
9.3 В пассажирском салоне вагонов категории 1а и 2в в зоне для размещения пассажиров-инвалидов могут быть дополнительно предусмотрены индивидуальные посадочные места, в которые пассажир-инвалид может пересесть из кресла-коляски.
9.3.1 Индивидуальные посадочные места для сидения пассажиров-инвалидов (при их наличии) должны быть оборудованы креслами-сиденьями, соответствующими креслам-сиденьям вагона. Они могут быть выполнены в виде поворотных кресел либо стационарных кресел с откидными (съемными) подлокотниками для обеспечения удобной пересадки на кресло пассажира-инвалида.
9.3.2 Индивидуальные посадочные места (при их наличии) в зоне досягаемости пассажира-инвалида, находящегося в кресле-сиденье, должны быть оборудованы средствами для надежного крепления сложенных колясок и индивидуальных вспомогательных средств для передвижения.
Примечание - Одно кресло-коляска в сложенном виде занимает пространство с размерами 1200 x 350 x 110 мм.
9.4 Планировка салона вагонов категории 1 и категории 2в должна предусматривать возможность проезда пассажира-инвалида в кресле-коляске к местам размещения, а также осуществления необходимых маневров в местах поворота на 90° (в соответствии с 9.6) и местах разворота (в соответствии с рисунком Б.2 приложения Б).
9.5 Проходные двери вагонов категории 1, предназначенные для прохода пассажиров-инвалидов, в том числе в креслах-колясках, должны быть раздвижными, иметь индивидуальное управление, обеспечивающее открытие дверей вручную или автоматически, и устройства для фиксации дверей в открытом положении. Ширина проема в свету проходных дверей должна составлять не менее 800 мм и определяться с учетом приложения А.
Проходные двери вагона категории 2в - по 9.7.2.
Дверь, предназначенная для входа в огороженную зону (при ее наличии, см. 9.2), - по 10.2.7.
9.5.1 Если более 75% поверхности двери изготовлено из прозрачного материала, то ее следует четко обозначить визуальными указателями.
9.5.2 Дверные ручки и прочие органы управления дверями должны быть установлены на высоте от 800 до 1200 мм от пола.
Рекомендуется устанавливать дверные ручки и прочие органы управления дверями на высоте от 900 до 1100 мм от уровня пола.
9.5.3 Рекомендуется нанесение ударопрочных защитных элементов на дверях, стенах и элементах внутренней отделки в местах перемещения и размещения пассажиров-инвалидов на высоте до 400 мм от пола.
9.6 Ширина продольных и поперечных проходов внутри пассажирских вагонов категории 1 и категории 2в, предназначенных для прохода (проезда) пассажиров-инвалидов от входных дверей к местам их размещения, должна рассчитываться с учетом таблицы, приведенной в приложении А (в местах поворота на 90°).
Минимально допустимая ширина проходов для проезда кресел-колясок (в узких местах, длина которых не более 1000 мм) должна составлять не менее 800 мм.
9.7 В вагонах категории 2а и категории 2б зона для пассажиров-инвалидов, в том числе в креслах-колясках, включает:
- купе для пассажира-инвалида и сопровождающего его лица, соответствующее требованиям 10.1 - 10.2 в вагонах категории 2а или требованиям 10.4, - в вагонах категории 2б.
- санузел, специально приспособленный для пассажиров-инвалидов в соответствии с требованиями, установленными в разделе 11;
- часть коридора вагона (напротив купе и санузла для пассажиров-инвалидов);
- тамбур нетормозного конца вагона.
9.7.1 Ширина тамбура, предназначенного для посадки и высадки пассажиров-инвалидов, в том числе в креслах-колясках, должна устанавливаться в соответствии с таблицей, приведенной в приложении А.
9.7.2 Проходная дверь (из тамбура в коридор) в вагонах категории 2 должна иметь дверной проем в свету шириной, определяемой в соответствии с приложением А в зависимости от ширины тамбура, и устройства для фиксации ее в открытом положении. Высота порога проходной двери не более 30 мм.
9.7.3 Коридор нетормозного конца вагона, соединяющий купе, санузел и тамбур, не должен иметь откидных сидений и должен быть оборудован горизонтальным поручнем.
Размеры коридора вагона должны устанавливаться с учетом необходимого пространства для маневрирования пассажиров-инвалидов в креслах-колясках в соответствии с рисунком А.1 (приложение А).
10. Требования к пассажирскому купе
10.1 Планировка пассажирского купе со спальными местами, предназначенного для проезда пассажиров-инвалидов, должна предусматривать:
а) свободное пространство для обеспечения возможности свободного маневрирования пассажира-инвалида в кресле-коляске в соответствии с рисунком Б.2 (приложение Б);
б) место для размещения кресла-коляски, размеры которого соответствуют указанным в приложении Б (рисунок Б.1, вариант 2);
в) место для размещения багажа.
10.1.1 Должна быть обеспечена возможность размещения кресла-коляски рядом с креслом-сиденьем для самостоятельной пересадки пассажира-инвалида из кресла-коляски в кресло-сиденье.
10.1.2 Место для размещения кресла-коляски должно быть оборудовано устройством для крепления кресла-коляски (в рабочем положении), препятствующим самопроизвольному перемещению заторможенного кресла-коляски или его опрокидыванию при разгоне и торможении поезда, или устройством крепления коляски в сложенном виде.
10.2 Пассажирское купе со спальными местами, предназначенное для проезда пассажира-инвалида, должно оборудоваться:
- двумя спальными местами, расположенными в два яруса друг над другом (нижнее место - для пассажира-инвалида, верхнее - для сопровождающего лица);
- сиденьем;
- подоконным столиком;
- лестницей для подъема на верхнее спальное место и для пользования багажной нишей (при ее наличии);
- горизонтальными поручнями;
- зеркалом;
- информационным табло;
- кнопками вызова проводника;
- электрической розеткой (напряжением 220 В);
- крючками (вешалками) для одежды;
- раздвижной дверью.
10.2.1 Нижнее спальное место должно оборудоваться мягким или полумягким диваном длиной не менее 1800 мм и шириной не менее 650 мм, конструкция которого позволяет осуществлять изменение угла наклона его части в вертикальной плоскости до 75° (для обеспечения возможности для инвалида сидеть, опираясь спиной на поднятую часть дивана) и фиксацию ее в любом промежуточном положении.
Орган управления приводом механизма изменения наклона головной части нижнего спального места должен располагаться в зоне, доступной для пассажира-инвалида, находящегося на нижнем спальном месте.
Вдоль нижнего спального места на высоте не более 600 мм от нижнего спального места должен быть установлен поручень длиной не менее 650 мм для опоры при перемещении пассажира-инвалида из горизонтального в вертикальное положение.
10.2.2 Спальное место для инвалида должно оборудоваться откидным предохранительным устройством (бортиком), фиксирующимся в вертикальном положении и препятствующим падению пассажиров (высота бортика не менее 150 мм), или иными устройствами, обеспечивающими аналогичную защиту пассажира от падения.
10.2.3 Ширина сиденья должна быть не менее 450 мм.
Вместо сиденья может быть установлено кресло-сиденье, оборудованное в соответствии с 10.4.
10.2.4 Подоконный столик должен быть расположен между сиденьем (или креслом-сиденьем при его наличии) и нижним спальным местом, высота столешницы, измеренная от уровня пола до нижней поверхности столешницы, должна быть не менее 700 мм.
10.2.5 Боковая стена пассажирского купе должна оборудоваться горизонтальными поручнями на высоте от 800 до 1200 мм.
10.2.6 Нижняя кромка зеркала должна быть расположена на высоте не более 800 мм от уровня пола.
10.2.7 Раздвижная дверь для входа в купе, предназначенное для проезда пассажира-инвалида, должна иметь ширину проема в свету, определяемую в соответствии с приложением А в зависимости от ширины коридора, находящегося напротив двери. Нижняя направляющая раздвижной двери и порог (при его наличии) должны выступать от уровня пола не более чем на 30 мм.
10.2.8 С наружной стороны двери купе, предназначенного для проезда пассажиров-инвалидов, должно быть нанесено соответствующее обозначение (надпись или пиктограмма), данное обозначение должно быть продублировано на табличке с использованием рельефно-точечного шрифта (Брайля). Указанную табличку размещают на стене справа от двери на высоте от 1200 до 1600 мм от уровня пола (по отношению к нижнему краю таблички) на расстоянии от 100 до 200 мм от края двери.
10.2.9 Выключатели общего и местного освещения, ручка регулировки громкости радиотрансляции, привод механизма солнцезащитной шторы, кнопки вызова проводника, электрическая розетка (220 В) должны располагаться в зоне, доступной для пассажиров-инвалидов, на высоте от 800 до 1200 мм от уровня пола.
10.3 В купе, предназначенном для проезда пассажиров-инвалидов, для потолка, дверей и стен рекомендуется применять отделочные материалы светлых тонов.
10.4 В купе вагона категории 2б должно быть предусмотрено индивидуальное посадочное место (кресло-сиденье), в которое пассажир-инвалид пересаживается из кресла-коляски. Кресло-сиденье должно иметь спинку с подголовником, опору для голени, опору для стоп и подлокотники. Подлокотник кресла-сиденья, расположенный со стороны пересадки пассажира-инвалида из кресла-коляски, должен быть откидным.
Ширина сиденья должна быть не менее 450 мм.
Для оборудования места размещения пассажира-инвалида в купе вагона категории 2б также обязательно соблюдение требований, изложенных в 10.1.1, 10.2.9. В купе должно быть предусмотрено не менее одного места для сопровождающего пассажира-инвалида лица.
В вагоне категории 2б должно быть также предусмотрено не менее двух мест для размещения пассажиров-инвалидов, не пользующихся креслами-колясками.
10.4.1 Индивидуальные посадочные места в зоне досягаемости пассажира-инвалида, находящегося в кресле-сиденье, должны быть оборудованы средствами для надежного крепления сложенных колясок и индивидуальных вспомогательных средств для передвижения.
10.4.2 Купе вагона категории 2б должно быть оборудовано:
- опорными устройствами в соответствии с 8.2 - 8.7;
- информационным табло;
- кнопкой вызова проводника;
- электрической розеткой (220 В);
- крючками (вешалками) для одежды;
- раздвижной дверью, соответствующей требованиям 10.2.7, 10.2.8.
10.4.3 Планировка купе должна предусматривать свободное пространство для обеспечения возможности свободного маневрирования пассажира-инвалида в кресле-коляске в соответствии с перечислением а) 10.1.
11. Требования к санузлу
11.1 Планировка санузла, предназначенного для пассажиров-инвалидов, должна предусматривать:
- свободное пространство для обеспечения возможности свободного маневрирования пассажира-инвалида в кресле-коляске;
- место (площадку) сбоку от унитаза для размещения кресла-коляски, размеры которого соответствуют указанным в приложении Б (рисунок 1, вариант 2).
11.1.1 Место (площадку) сбоку от унитаза для кресла-коляски располагают таким образом, чтобы была обеспечена возможность самостоятельной пересадки пассажира-инвалида с кресла-коляски на унитаз и обратно.
Место (площадку) для размещения кресла-коляски [см. рисунок Б.1, вариант 2 (приложение Б)] рекомендуется располагать параллельно продольной оси унитаза (проекции в плане).
11.1.2 Для обеспечения возможности маневрирования пассажира-инвалида в кресле-коляске в санузле должно быть свободное пространство диаметром не менее 1400 мм.
11.2 Санузел <1>, предназначенный для пассажиров-инвалидов, должен оборудоваться:
--------------------------------
<1> Пассажирские вагоны локомотивной тяги могут быть оборудованы либо душевым модулем, либо душевым оборудованием в соответствии с требованиями (при их наличии) нормативных документов стран, проголосовавших за принятие настоящего стандарта.
- унитазом;
- умывальником;
- зеркалом;
- горизонтальными поручнями для опоры пассажиров-инвалидов и для пересадки пассажиров-инвалидов с кресла-коляски на унитаз;
- электрическими розетками (напряжением 220) для вагонов категории 1а и категории 2;
- кнопками экстренного вызова машиниста (проводника), одна из них должна располагаться на высоте от 100 до 400 мм от уровня пола, другая - в соответствии с 10.2.9;
- санитарным оборудованием и устройствами, упомянутыми в 11.2.7;
- раздвижной дверью.
11.2.1 Высота унитаза (с учетом верхней части сиденья) от опоры для ног должна составлять от 450 до 520 мм.
11.2.2 В зоне расположения унитаза, симметрично с обеих его сторон, на высоте не более 800 мм от уровня пола (опорной поверхности) должны быть установлены два горизонтальных поручня, передний край которых выступает за передний край унитаза на расстояние не менее 100 мм. Поручни должны иметь поперечное сечение, соответствующее требованиям 8.4. Расстояние между поручнями (600 +/- 30) мм. Поручни (или один из них, расположенный со стороны подступа к унитазу) выполняют поворотными (поворотным) или откидными (откидным), они должны разворачиваться соответственно в горизонтальной или вертикальной плоскости и фиксироваться в рабочем положении. Концы откидных и поворотных поручней должны быть скруглены, а поручней парного типа - соединены между собой.
11.2.3 Унитаз должен оборудоваться ручным приводом сливного устройства. Орган управления ручным приводом сливного устройства должен располагаться в зоне, доступной для пассажира-инвалида.
11.2.3.1 Рекомендуется около унитаза устанавливать дополнительную горизонтальную опору (стойка, поручень) на высоте его сиденья со стороны поворотного поручня.
11.2.3.2 Рекомендуется наряду с ручным оборудовать унитаз ножным приводом сливного устройства.
11.2.4 Раковину умывальника следует устанавливать таким образом, чтобы ее верхний край находился на высоте не более 900 мм от уровня пола (опоры для ног), а нижний передний (по отношению к пользователю) край раковины - на высоте не менее 700 мм. Под раковиной должно быть предусмотрено свободное пространство (ниша) для размещения ног инвалида в кресле-коляске.
11.2.4.1 Рекомендуемые размеры ниши:
- для размещения стоп глубина не менее 150 мм на высоте не менее 300 мм от уровня пола (при наличии напольного коврика от его поверхности);
- для размещения коленей дополнительно глубина не менее 250 мм (при удаленности переднего края раковины от стены, у которой раковина установлена, на расстояние 400 мм и более). Глубина ниши для коленей может варьироваться в зависимости от изменения этого расстояния с тем, чтобы обеспечить возможность инвалиду в кресле-коляске пользоваться раковиной и водопроводным краном, не выходя за пределы зоны досягаемости.
11.2.4.2 В раковинах рекомендуется применять водопроводные краны рычажного (нажимного) или сенсорного действия.
11.2.5 Зеркало должно быть установлено над умывальной чашей таким образом, чтобы его нижняя кромка располагалась на высоте от 1000 до 1050 мм от уровня пола.
11.2.6 Электрическая розетка (при наличии в соответствии с 11.2) должна устанавливаться рядом с зеркалом на высоте не более 1300 мм от уровня пола.
11.2.7 Санитарное оборудование и устройства (емкости для бумажных полотенец и туалетной бумаги, мыльница (дозатор для мыла), крючки для одежды, устройства для крепления трости, костылей и т.п.) следует размещать в санузле на высоте, учитывающей зону досягаемости пассажиров-инвалидов в креслах-колясках в соответствии с приложением В.
11.2.8 Дверь санузла должна фиксироваться в открытом и закрытом положениях, иметь дверной проем шириной в свету, определяемой в соответствии с приложением А в зависимости от ширины прохода (коридора, находящегося напротив двери). Нижняя направляющая раздвижной двери и порог (при его наличии) должны выступать от уровня пола на высоту не более 30 мм. Дверные ручки (иные органы управления дверями) необходимо размещать на высоте от 800 до 1200 мм от уровня пола.
Рекомендуется устанавливать дверные ручки (иные органы управления дверями) на высоте от 900 до 1100 мм от уровня пола.
11.2.9 С наружной стороны двери санузла должно быть нанесено соответствующее обозначение (надпись или пиктограмма), данное обозначение должно быть продублировано либо информирующей табличкой с использованием рельефно-точечного шрифта (Брайля), либо соответствующей контрастно-рельефной пиктограммой, размещаемыми на стене справа от двери на высоте от 1200 до 1600 мм от уровня пола (по отношению к нижнему краю таблички) и на расстоянии от 100 до 200 мм от края двери.
12. Требования к удерживающей системе крепления кресла-коляски
12.1 Устройства и оборудование удерживающей системы крепления кресла-коляски в вагонах категорий 1 и категории 2в, которыми оснащаются места для размещения инвалидов в кресле-коляске в соответствии с требованиями 9.2.2, должны обеспечивать надежную фиксацию кресла-коляски с находящимся в нем пассажиром-инвалидом при всех штатных ситуациях эксплуатации вагона.
12.2 Устройства и оборудование удерживающей системы крепления кресла-коляски не должны создавать опасность или мешать передвижению пассажиров в салоне вагона и не должны препятствовать использованию площади для пассажиров-инвалидов в кресле-коляске для размещения пассажиров вагона, находящихся в положении стоя, в случае, когда она не занята пассажиром-инвалидом в кресле-коляске.
12.3 Порядок пользования креплениями кресел-колясок должен быть показан в инструкции (текстом и/или графически) на самих креплениях или на табличке в непосредственной близости от них.
13. Требования к приборам и устройствам технических систем обслуживания, сигнализации и информационного обеспечения пассажиров-инвалидов
13.1 Все приборы и устройства управления и регулирования различными механизмами или техническими системами обслуживания пассажиров-инвалидов в вагоне (например, системами отопления, вентиляции, электрическим и санитарно-техническим оборудованием, радио-, аудио-, видеооборудованием, внутренней связи и др.), предназначенные для пользования пассажирами-инвалидами [в помещении санузла, предназначенного для пассажиров-инвалидов, в зонах размещения пассажиров-инвалидов вблизи мест, указанных в 9.2, 9.3 (в вагонах категории 1 и категории 2в), в купе для инвалида (в вагонах категории 2а и категории 2б)], должны быть смонтированы на высоте от 800 до 1200 мм от уровня пола вагона и должны быть снабжены табличками с округлыми углами с необходимой для пользования информацией, выполненной, в том числе, рельефно-точечным шрифтом (Брайля). Указанные таблички должны размещаться над соответствующим устройствами на высоте не менее 1200 мм от уровня пола (по отношению к нижнему краю таблички). Упомянутые приборы и устройства должны обеспечивать возможность приведения их в действие одной рукой.
В зонах размещения пассажиров-инвалидов должны быть также таблички с информацией о расположении средств аварийного спасения, выполненные и обозначенные в соответствии с 5.6, аварийные выходы должны быть обозначены в соответствии с 5.6.
13.2 В вагонах должна быть предусмотрена возможность вывода световой сигнализации из пассажирского купе (для вагонов категории 2а и категории 2б) и санузла в коридор вагона, дублирующей сигнал вызова проводника и срабатывающей при нажатии кнопки вызова.
В непосредственной близости от мест размещения пассажиров-инвалидов вагоны категории 1 должны оборудоваться переговорным устройством "Пассажир-машинист" ("Пассажир-проводник"), вагоны категории 2в - устройством "Пассажир-проводник".
13.3 Каждый вагон, предназначенный для проезда пассажиров-инвалидов, должен оборудоваться звуковой и визуальной информационными системами для обеспечения пассажиров-инвалидов (в том числе инвалидов с нарушениями функций зрения или слуха) сообщениями о маршруте следования, об остановках и другой предупреждающей информацией.
13.3.1 Электронные средства отображения информации (табло, дисплей) располагают в салоне вагона категории 1 и 2в на стенке над входной дверью или в подвешенном состоянии к потолку вблизи входной двери (при исполнении вагона категории 1 без тамбура), в количестве не менее двух штук, в купе, предназначенном для проезда инвалидов, располагается, как правило, одно электронное средство отображения информации.
13.3.2 Визуальную информацию в салоне вагонов категории 1 рекомендуется предоставлять на дисплеях (табло) в виде двух строк [в первой - текущая скорость движения, наружная температура, дата/время, во второй - станция назначения, следующая промежуточная остановка, специальный текст (при необходимости)].
13.3.3 В каждой строке должно отображаться не более 20 знаков с размером шрифта минимум 35 мм (включая элементы прописных и строчных букв). Если в названии следующей промежуточной остановки более 20 знаков, информация представляется в виде бегущей строки.
Шрифт и символы должны быть контрастными: либо светлыми на темном фоне, либо темными на светлом фоне.
Табло, дисплеи должны предоставлять возможность отображения текста со строгими пропорциями шрифта, включая шрифт горизонтальной бегущей строки, и надежную (неизменную во времени) читаемость.
Система отображения динамической информации должна обеспечивать появление текста о следующей промежуточной остановке не менее чем за 2 мин перед прибытием на соответствующую остановку.
13.3.4 Текст, отображаемый на дисплеях (табло), должен хорошо читаться со всех мест для инвалидов и по возможности со всех мест для сидения, как при дневном свете, так и при искусственном освещении.
13.4 Буквы и цифры в надписях и текстах (в текстовых информационных средствах) должны быть выполнены сплошным контуром без перемычек.
Пиктограммы должны содержать понятный рисунок или символ, композиционно оправданный размер букв, цифр и цвет фона.
14. Требования к указательным надписям и обозначениям
14.1 На боковой стене вагона в районе наружных дверей, предназначенных для входа и выхода пассажиров-инвалидов, в том числе в креслах-колясках, должна быть нанесена пиктограмма в соответствии с рисунками Г.1 - Г.2 (приложение Г) или соответствующая ей по смыслу надпись, информирующая о его доступности для инвалидов. Цвет пиктограмм должен быть голубым на белом (желтом) фоне или белым (желтым) на голубом фоне.
14.2 На наружной поверхности входных дверей, предназначенных для входа и выхода пассажиров-инвалидов, или в непосредственной близости от них должна наноситься надпись "Вход для инвалидов" или соответствующая ей по смыслу пиктограмма.
На внутренней поверхности входных дверей, предназначенных для входа и выхода пассажиров-инвалидов, или в непосредственной близости от них должна наноситься надпись "Выход для инвалидов" или соответствующая ей по смыслу пиктограмма.
14.3 На боковых стенах пассажирского салона в зоне расположения мест для размещения пассажиров-инвалидов должна наноситься надпись "Места для инвалидов" или соответствующая ей по смыслу пиктограмма. Информация должна дублироваться рельефно-точечным шрифтом (Брайля).
14.4 Над кнопками вызова проводника в пассажирском купе (в вагонах категории 2) и кнопками переговорного устройства для экстренного вызова машиниста (проводника) в санузле должны устанавливаться таблички с надписью "Вызов проводника" ("Вызов машиниста"). Информация должна дублироваться рельефно-точечным шрифтом (Брайля).
14.5 У органа управления приводом механизма изменения наклона части нижнего спального места (в вагонах категории 2) должна устанавливаться табличка с надписью "Регулировка высоты изголовья". Информация должна дублироваться рельефно-точечным шрифтом (Брайля).
14.6 У органа управления ручным приводом сливного устройства унитаза должна устанавливаться табличка с надписью "Ручной водослив" (или иной близкой по смыслу надписью). Информация должна дублироваться рельефно-точечным шрифтом (Брайля).
15. Методы контроля
15.1 Общие положения
15.1.1 Контроль исполнения требований к конструкции, оборудованию, системам и устройствам вагонов, обеспечивающих доступность и безопасность для пассажиров-инвалидов, осуществляют в соответствии с таблицей Д.1 (приложение Д).
Методы контроля включают визуальный контроль, прямые измерения (геометрических параметров оборудования вагона и его размещения, времени, показателей искусственного освещения, усилий на органах управления), проверку функциональной работоспособности и прочности оборудования (вспомогательных посадочных устройств, элементов управления приборами и устройствами технических систем обслуживания, сигнализации и информационного обеспечения и др.).
15.1.1.1 Визуальный контроль проводится без применения средств измерения, без снятия и разборки систем, оборудования и сборочных единиц.
При визуальном контроле рекомендуется фотографировать оцениваемые объекты и применять фотографии в качестве доказательных материалов.
15.1.1.2 Экспертиза технической документации (при необходимости) включает исследование соответствия технической документации установленным в настоящем стандарте требованиям с оценкой заложенных в ней технических решений.
15.1.1.3 Прямые измерения с использованием упомянутых в 15.3.2 средств, если это не оговорено особо, проводят один раз.
15.1.1.4 Работоспособность механизмов (систем, устройств) вагона проверяют приведением их в действие, при этом работоспособным считается такое состояние механизма (системы, устройства), при котором значения всех параметров, характеризующих его способность выполнять заданные функции, соответствуют требованиям настоящего стандарта и/или конструкторской (проектной) документации.
15.1.1.5 Для определения усилия на органе управления к нему прикладывают силовое воздействие, постепенно увеличивая силу воздействия в направлении перемещения органа управления. За результат принимают усилие, зафиксированное в момент начала перемещения органа управления.
15.1.1.6 Результаты визуального контроля, прямых измерений, иные первичные данные и условия проведения испытаний регистрируют в журналах (рабочих протоколах, таблицах).
Информацию об этапах, процедурах и результатах обработки первичных данных сохраняют на бумажных и/или электронных носителях.
Итоговые результаты испытаний оформляют в виде протокола испытаний.
15.2 Условия проведения испытаний
15.2.1 Все испытания в помещениях вагона (если иное не оговорено особо) проводят при температуре воздуха в помещении от 18 °C до 28 °C, влажности воздуха не более 80%. Испытания вне помещения (вспомогательных посадочных устройств по 15.4 - 15.6) проводят в нормальных климатических условиях согласно ГОСТ 15150.
15.2.2 Испытания проводят при нахождении вагона на стоянке (за исключением испытаний по 15.7). При проведении измерений вагон устанавливают на прямом горизонтальном участке пути.
15.2.3 Освещенность измеряемых объектов в помещении вагона и снаружи (кроме испытаний по 15.6) должна быть не менее 150 лк.
Визуальный контроль оборудования вагона, его систем и устройств проводят при освещенности не менее 100 лк.
15.3 Средства измерений
15.3.1 Применяемые средства измерений должны соответствовать требованиям национального законодательства об обеспечении единства измерений <1>.
--------------------------------
<1> В Российской Федерации действуют Федеральный закон N 102-ФЗ от 26 июня 2008 г. "Об обеспечении единства измерений" и Приказ Минпромторга РФ от 2 июля 2015 г. N 1815 "Порядок проведения поверки средств измерений, требования к знаку поверки и содержанию свидетельства о поверке".
Применяемое испытательное оборудование должно быть аттестовано в порядке, установленном нормативными документами, действующими на территории государства, принявшего настоящий стандарт <2>.
--------------------------------
<2> В Российской Федерации действует ГОСТ Р 8.568-97 "Государственная система обеспечения единства измерений. Аттестация испытательного оборудования. Основные положения".
15.3.2 При проведении испытаний должны применяться следующие средства измерений:
- средства измерения температуры воздуха;
- люксметры;
- гигрометры (термогигрометры);
- металлические рулетки по ГОСТ 7502 с пределом измерений 5 м, класса точности 3;
- металлические линейки по ГОСТ 427 с пределами измерений 300, 500 и 1000 мм;
- штангенциркули по ГОСТ 166 с диапазоном измерений от 0 до 125 мм;
- угломеры с пределом измерений 180°;
- секундомеры с погрешностью измерения интервалов времени - +/- 0,015 с в интервале 1 - 10 мин;
- средства измерения атмосферного давления;
- динамометры с пределом измерений 0,2 кН.
15.3.3 Применяемые средства измерений должны обеспечивать погрешность <3> измерений не более:
--------------------------------
<3> В единицах измеряемой величины выражена абсолютная погрешность, в процентах - относительная погрешность (за исключением погрешности измерений относительной влажности).
- при определении температуры воздуха - +/- 0,5 °C;
- при определении освещенности - 10%;
- при определении относительной влажности - 3%.
- при определении линейных размеров до 1000 мм - +/- 1 мм;
- при определении линейных размеров свыше 1000 мм - +/- 3 мм;
- при определении угловых величин - +/- 1°;
- при определении величин времени - +/- 2 с;
- при измерении давления - +/- 3 гПа;
- при определении усилий - 3%.
Допускается применение иных средств измерений, соответствующих 15.3.1 и обеспечивающих установленную настоящим стандартом точность измерений.
15.3.4 Для проведения испытаний на прочность подъемных устройств применяют вспомогательное оборудование - аттестованный груз. Для измерения (при аттестации) веса груза, помещаемого на платформу (в испытаниях по 15.5.2 - 15.5.5), или кресла (в испытаниях по 15.7.1.1) применяют напольные весы с диапазоном измерений от 1 до 150 кг и погрешностью измерений +/- 0,5 кг.
15.3.5 Для проведения испытания удерживающей системы крепления кресла-коляски и испытания устройства для крепления кресла-коляски применяют кресло-коляску по ГОСТ 30471.
15.3.6 Вертикальность и горизонтальность плоскостей отсчета определяют с использованием отвеса и уровня (или иных приспособлений на их основе).
15.4 Испытания по определению скорости движения платформы подъемного устройства
15.4.1 Испытания по определению скорости движения платформы подъемного устройства проводят в нормальных климатических условиях согласно ГОСТ 15150 без груза.
Скорость движения платформы подъемного устройства V, м/с, определяется по формуле
V = S—t , (1)
где S - расстояние, пройденное платформой подъемного устройства;
t - время, за которое платформа подъемного устройства проходит расстояние S.
Скорость движения платформы подъемного устройства определяют отдельно для подъема и для опускания платформы.
Измерение времени проводят с начала перемещения органа управления, с помощью которого платформа подъемного устройства приводится в действие, до момента завершения подъема (опускания) платформы.
Расстояние, пройденное платформой подъемного устройства, соответствует разности уровней поверхности платформы в крайних по высоте положениях (по отношению к уровню пола или пассажирской платформы).
15.4.2 Измерения времени подъема и опускания проводят не менее трех раз. За результат испытаний принимают максимальное значение скорости движения платформы, из всех значений, полученных в испытаниях при подъеме и опускании платформы подъемного устройства. Полученные значения скоростей следует округлять до второй десятичной цифры.
15.5 Испытания вспомогательных посадочных устройств
15.5.1 Функциональную работоспособность вспомогательных посадочных устройств контролируют приведением их в действие (при этом используют каждый пульт управления) и измерением времени секундомером.
Оценку работоспособности вспомогательных посадочных устройств проводят после проведения испытаний на прочность.
15.5.2 Для проверки прочности вспомогательных посадочных устройств и их крепления к вагону проводят испытания под нагрузкой, на 10% превышающей их номинальную грузоподъемность.
15.5.3 При испытании подъемных устройств аттестованный груз распределяют по поверхности платформы подъемного устройства, затем поднимают на максимальную высоту, выдерживают в течение 10 мин и опускают.
После проведения испытаний на поверхности платформы подъемного устройства не должно быть видимых следов остаточной деформации и должна быть сохранена функциональная работоспособность подъемного устройства (приведение в рабочее состояние из транспортного положения, спуск и подъем платформы с грузом, соответствующим номинальной грузоподъемности, без наблюдаемых задержек и неисправностей).
15.5.4 Для выдвижных, откидных или приставных рамп проводят статические испытания, при которых рампы приводят в рабочее положение, аттестованный испытательный груз размещают на рабочей поверхности рампы, равномерно распределяя его по поверхности, выдерживают в течение 10 мин, затем груз снимают.
После проведения испытаний на поверхности рампы не должно быть видимых следов остаточной деформации и должна быть сохранена ее работоспособность (приведение рампы в рабочее состояние из транспортного положения и возвращение в исходное положение).
15.5.5 При проведении испытаний по 15.5.3 и 15.5.4 вместо аттестованного испытательного груза допускается использовать груз, взвешенный на поверенных весах. Класс точности весов должен быть не ниже среднего.
15.5.6 Измерение времени полного цикла работы выдвижной рампы проводят с начала перемещения органа управления, с помощью которого рампа выдвигается в рабочее положение, до возвращения ее в транспортное положение. Время нахождения рампы в рабочем положении (время перемещения кресла-коляски, время испытаний с грузом) не учитывается. Измерения времени проводят не менее трех раз. За результат испытаний принимают максимальное значение времени движения рампы (цикла работы). Полученные значения времени следует округлять до секунды.
15.6 Испытания по определению освещенности поверхности вспомогательных посадочных устройств
15.6.1 Освещенность определяют по ГОСТ 33463.4.
15.6.2 Испытания проводят в темное время суток. Измерения проводят при нахождении вспомогательных посадочных устройств в состоянии готовности к перемещению (подъему) пассажира-инвалида в вагон как с низких и/или средних, так и с высоких платформ [или только с высоких платформ, в случае, если имеется информация об эксплуатации вагонов на участках, оснащенных только высокими платформами (например, в условиях высокоскоростного движения)].
15.6.3 Освещенность измеряют на поверхности вспомогательных посадочных устройств не менее чем в пяти контрольных точках, равномерно распределенных по поверхности (прямоугольной формы в центре и в четырех точках, удаленных от центра на расстоянии 1/4 диагонали).
15.6.4 В каждой контрольной точке выполняют одно измерение. Результаты измерений показателей освещенности в каждой точке сравнивают с нормативным значением показателя.
15.6.5 Допускаемая температура при измерении освещенности вне помещений определяется требованиями, установленными в инструкции по эксплуатации применяемых средств измерения.
15.7 Испытания удерживающей системы крепления кресла-коляски и испытания устройства для крепления кресла-коляски
15.7.1 Испытания удерживающей системы крепления кресла-коляски и испытания устройства для крепления кресла-коляски, установленных в вагоне, проводят совместно с динамическими испытаниями на прочность и проверкой ходовых качеств вагона по ГОСТ 33788 или иным стандартизованным методикам динамико-прочностных испытаний <1> вагонов соответствующего типа.
--------------------------------
<1> В Российской Федерации действует ГОСТ Р 55496-2013 "Моторвагонный подвижной состав. Методика динамико-прочностных испытаний".
15.7.1.1 Работоспособность удерживающей системы крепления кресла-коляски контролируют приведением ее в действие.
Для испытаний применяют кресло-коляску с габаритными размерами по ГОСТ 30471-96 (пункт 4.2) и аттестованный испытательный груз массой (125,0 +/- 0,5) кг.
Аттестованный испытательный груз размещают на сиденье кресла-коляски и прочно его крепят. Механизм крепления кресла-коляски переводят в положение "закрыто".
Кресло-коляска должно сохранять исходное положение при разгоне и торможении при условиях нагружения, реализуемых при динамических испытаниях на прочность и проверке ходовых качеств вагона (см. 15.7.1).
Примечания
- Под сохранением исходного положения понимается отсутствие перемещений колес кресла-коляски в продольном направлении более чем на 0,05 м, а также отсутствие опрокидывания кресла-коляски или любого перемещения груза.
- Сохранение исходного положения в продольном направлении может быть подтверждено по следам (отсутствию следов) перемещений заранее промаркированных колес кресла-коляски.
15.7.1.2 Работоспособность устройства для крепления кресла-коляски контролируют приведением его в действие.
Для испытаний применяют ненагруженное кресло-коляску с габаритными размерами по ГОСТ 30471-96 (пункт 4.2).
Кресло-коляска в сложенном или рабочем состоянии (в зависимости от типа применяемых устройств для его крепления) устанавливают в предусмотренное положение и крепят в соответствии с требованиями, приведенными в руководстве по эксплуатации устройства для крепления кресла-коляски.
Кресло-коляска должно сохранять исходное положение при разгоне и торможении при условиях нагружения вагона, реализуемых при ходовых испытаниях (см. 15.7.1).
15.8 Требования безопасности при проведении испытаний
К проведению испытаний допускают работников, прошедших обучение, инструктажи и проверку знаний требований охраны труда. Порядок и виды обучения, а также организацию инструктажей участников испытаний осуществляют в соответствии с ГОСТ 12.0.004-2015 (разделы 6, 8). Во время проведения испытаний работники должны соблюдать требования охраны труда и правила внутреннего трудового распорядка, установленные в организации, на территории которой проводятся испытания.
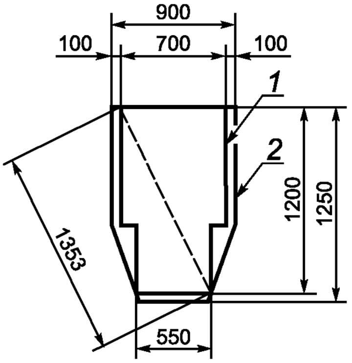
Приложение А
(обязательное)МИНИМАЛЬНЫЕ РАЗМЕРЫ ЗОНЫ ДЛЯ МАНЕВРИРОВАНИЯ ИНВАЛИДА В КРЕСЛЕ-КОЛЯСКЕ В ЗАВИСИМОСТИ ОТ ШИРИНЫ ПРОЕМА ДВЕРЕЙ И ПРОХОДОВ
| Ширина коридора (тамбура) в свету a, мм | 1300 | 1100 | 1000 | 900 |
| Ширина проема дверей в свету или ширина коридора (тамбура) в свету b, мм | 800 | 850 | 900 | 1000 |
Примечание - Точка c (вариант 2) используется при описании метода контроля размеров зоны маневрирования в коридоре с непараллельными стенами (см. таблицу Е.1, параметр 3.3.2).
Рисунок А.1 - Размеры ширины проема в свету для поворота на 90° в зависимости от ширины находящегося
перед ним прохода с параллельными (вариант 1) >и непараллельными (вариант 2) стенами
Приложение Б
(обязательное)МИНИМАЛЬНЫЕ РАЗМЕРЫ ПЛОЩАДКИ ДЛЯ РАЗМЕЩЕНИЯ И РАЗВОРОТА КРЕСЛА-КОЛЯСКИ С НАХОДЯЩИМСЯ В НЕМ ПАССАЖИРОМ-ИНВАЛИДОМ
1 - площадка для размещения порожнего кресла-коляски в рабочем состоянии (вариант 1); 2 - площадка для размещения кресла-коляски с находящимся в нем инвалидом (вариант 2)
Рисунок Б.1 - Площадка для размещения кресла-коляски
Рисунок Б.2 - Пространство для разворота кресла-коляски с находящимся в нем пассажиром-инвалидом (ширина разворота)
Приложение В
(обязательное)ЗОНЫ ДОСЯГАЕМОСТИ ДЛЯ ИНВАЛИДОВ В КРЕСЛЕ-КОЛЯСКЕ
Рисунок В.1 - Зона досягаемости для мужчин
Рисунок В.2 - Зона досягаемости для женщин
Примечание - Рекомендуемые пределы зон досягаемости пространства применительно к средним размерам взрослого человека:
- при фронтальном подступе к объекту максимальная высота доступной для инвалида в кресле-коляске фронтальной зоны досягаемости составляет 1200 мм, минимальная - 400 мм от опорной поверхности;
- при боковом подступе к объекту максимальная высота доступной для инвалида в кресле-коляске боковой зоны досягаемости составляет 1400 мм, а минимальная - 250 мм от опорной поверхности.
Приложение Г
(рекомендуемое)МЕЖДУНАРОДНАЯ ПИКТОГРАММА ДОСТУПНОСТИ ДЛЯ ИНВАЛИДОВ
Рисунок Г.1 - Пропорции пиктограммы
Рисунок Г.2 - Варианты пиктограмм для обозначения вагонов, доступных для пассажиров-инвалидов
Приложение Д
(обязательное)МЕТОДЫ КОНТРОЛЯ
Д.1 Контроль исполнения требований настоящего стандарта осуществляют в соответствии с таблицей Д.1.
Таблица Д.1
| Номер структурного элемента настоящего стандарта | Метод контроля |
| Перечисление а) 5.1 | Обобщение (анализ) результатов контроля требований, изложенных в 6.1, 6.2, 6.2.1, 6.2.2, 6.3, 6.4, 7.1, 7.2, 7.4, 7.4.1 - 7.4.3, 7.5, 7.5.1, 7.5.2, 7.6 - 7.9, 8.1 |
| Перечисление б) 5.1 | Обобщение (анализ) результатов контроля требований, изложенных в 8.2 - 8.7, 9.1, 9.4, 9.5, 9.5.1 - 9.5.3, 9.6, 9.7.1 - 9.7.3, перечислении а) 10.1, 10.2.7, 10.2.8, 10.4.3 |
| Перечисление в) 5.1 | Обобщение (анализ) результатов контроля требований, изложенных в 9.2, 9.2.1 - 9.2.4, 9.3, 9.3.1 - 9.3.2, 10.2.1 - 10.2.2, 10.4 |
| Перечисление г) 5.1 | Визуальный контроль наличия (отсутствия) на пути от места размещения пассажира-инвалида до санузла препятствий (поручни, стойки, пороги, ступеньки, выступающие детали оборудования), ограничивающих пространство, предназначенное для проезда (разворота, маневрирования) пассажира-инвалида в кресле-коляске. Обобщение (анализ) результатов контроля требований, изложенных в 9.1, 9.4, 9.5, 9.6, 9.7.3, 11.2.8 |
| Перечисление д) 5.1 | Визуальный контроль наличия санузла увеличенной площади, наличия санитарного оборудования, поручней по 11.2, 11.2.2, 11.2.3. Обобщение (анализ) результатов контроля требований, изложенных в 11.1.1, 11.1.2 |
| Перечисление а) 5.2 | Визуальный контроль наличия вспомогательных посадочных устройств, определение типа вспомогательного посадочного устройства [подъемное устройство, рампа (выдвижная, откидная, приставная)]. Обобщение (анализ) результатов контроля требований, изложенных в 7.1 - 7.9 |
| Перечисление б) 5.2 | Обобщение (анализ) результатов контроля требований, изложенных в 13.1 - 13.4 |
| Перечисление в) 5.2 | Обобщение (анализ) результатов контроля требований, изложенных в 11.1 - 11.2.8 |
| Перечисление г) 5.2 | Обобщение (анализ) результатов контроля требований, изложенных в 9.4, 9.6, перечислении а) 10.1 |
| Перечисление д) 5.2 | Обобщение (анализ) результатов испытаний удерживающей системы крепления кресла-коляски с инвалидом и/или крепления сложенного кресла-коляски (требования 9.2.2 и 9.3.2 для вагонов категории 1 и категории 2в, требования 10.1.2 и 10.4.1 для вагонов категории 1а и категории 1б, требования раздела 12) |
| 5.3 | Обобщение (анализ) результатов контроля, в том числе измерений, опорных устройств, элементов и устройств технических систем обслуживания, сигнализации и информационного обеспечения и измерений (требования 8.1, 8.2, 8.3, 9.2.2, 9.5.2, 9.7.3, 10.2.1, 10.2.5, 10.2.9, 11.2.2, 11.2.3, 11.2.6, 13.1 |
| 5.4 | Визуальный контроль наличия табличек (вблизи объектов, указанных в 5.4, 5.6, 13.1, разделе 14) с информацией, нанесенной рельефно-точечным шрифтом (Брайля) |
| 5.5 | Визуальный контроль наличия средств аварийного спасения пассажиров и аварийных выходов в зоне для пассажиров-инвалидов |
| 5.6 |
Визуальный контроль наличия табличек с информацией, нанесенной контрастной маркировкой и шрифтом (Брайля) в местах аварийных выходов в зоне пребывания пассажиров-инвалидов, табличек с информацией о местах расположения средств аварийного спасения пассажиров-инвалидов. Контроль работоспособности световых и звуковых сигнальных устройств по 15.1.1.4 (при их наличии) |
| 6.1 |
Визуальный контроль наличия наружных входных дверей с каждой стороны вагона. Измерения параметров дверного проема в свету в соответствии с таблицей Е.1 (параметры 1.1.1 - 1.1.2) |
| 6.2 |
Визуальный контроль наличия кнопок подачи сигнала изнутри и снаружи вагона (категории 1). Контроль функциональной работоспособности устройств для подачи сигнала осуществляется по наличию сигнала на рабочем месте машиниста (или проводника) при нажатии кнопки, одновременно контролируется срабатывание световой и звуковой сигнализации (см. метод контроля к 6.2.2). Контроль наличия блокировки дверей вагонов категории 1 - при проведении испытаний по 15.5 |
| 6.2.1 | Измерения высоты размещения кнопок подачи сигнала в соответствии с таблицей Е.1 (параметр 1.2.1). При наличии иного устройства информирования машиниста и/или проводника о выходе на следующей остановке (переговорное устройство) - контроль по 13.2 |
| 6.2.2 |
Визуальный и органолептический контроль оформления рабочей поверхности кнопки. Измерения геометрических параметров кнопок в соответствии с таблицей Е.1 (параметр 1.2.2). Срабатывание световой и звуковой сигнализации при нажатии кнопки проверяется путем зрительных (слуховых) ощущений без применения специальных приспособлений |
| 6.3 |
Контроль наличия фиксации (блокировки) дверей вагона категории 2 на время посадки (высадки) пассажира-инвалида - при проведении испытаний по 15.5. Визуальный контроль наличия кнопок для вызова проводника. Визуальный и органолептический контроль оформления рабочей поверхности кнопки. Измерения высоты размещения кнопок вызова проводника (снаружи вагона) в соответствии с таблицей Е.1 (параметр 1.2.1). Измерения геометрических параметров кнопок в соответствии с таблицей Е.1 (параметр 1.2.2). Контроль функциональной работоспособности устройств для подачи сигнала проводнику (вагон категории 2). Работоспособность системы подачи сигнала оценивается положительно при наличии сигнала на рабочем месте проводника при нажатии кнопки. Срабатывание световой и звуковой сигнализации при нажатии кнопки проверяется путем зрительных (слуховых) ощущений без применения специальных приспособлений |
| 6.4 | Контроль функциональной работоспособности специальной наружной звуковой сигнализации для определения местоположения входных дверей. Работоспособность сигнализации проверяется после ее включения и измерения уровня звука, работоспособность оценивается положительно при наличии прерывистого звукового сигнала. Уровень звука на расстоянии 1 м от тонального устройства должен быть в диапазоне от 70 до 80 дБA |
| 7.1 | Визуальный контроль наличия вспомогательного посадочного устройства. |
| 7.2 | Визуальный контроль наличия устройства фиксации, наличия выступающих частей вспомогательных посадочных устройств (зафиксированных в нерабочем положении), препятствующих свободному входу пассажиров в вагон и выходу из него (см. также метод контроля требования 9.6) |
| 7.3 | Визуальный контроль непревышения габарита вагона вспомогательными посадочными устройствами в транспортном положении |
| 7.4 |
Испытания функциональной работоспособности и прочности (грузоподъемности) подъемного устройства в соответствии с 15.5.1 - 15.5.3, 15.5.5. Измерения геометрических параметров подъемного устройства в соответствии с таблицей Е.1 (параметры 2.1.1 - 2.1.4). Испытания по определению скорости движения платформы подъемного устройства в соответствии с 15.4. Визуальный контроль отсутствия рывков при подъеме и спуске платформы. Визуальный контроль наличия обозначения грузоподъемности |
| 7.4.1, 7.4.1.1 - 7.4.1.3 |
Визуальный контроль наличия поручней, защитных барьеров подъемного устройства, их расположения. Измерения параметров поручней и барьеров подъемного устройства в соответствии с таблицей Е.1 (параметр 2.2.1 - 2.2.6). |
| 7.4.2 | Визуальный контроль наличия откидного бортика платформы подъемного устройства и фиксации его в поднятом (вертикальном или близком к вертикальному) положении, измерение высоты зафиксированного в поднятом положении откидного бортика в соответствии с таблицей Е.1 (параметр 2.2.6), проверка работоспособности в соответствии с 15.1.1.4 |
| 7.4.3 |
Визуальный контроль наличия и расположения пульта управления подъемным устройством. Проверка наличия защиты от приведения подъемного устройства в рабочее положение без участия проводника (помощника машиниста) - в испытаниях по 15.5.1 Проверка автоматической остановки платформы при достижении уровня пола вагона и уровня пассажирской платформы - в испытаниях по 15.5.1. Испытания приведения подъемного устройства в действие вручную и измерение усилия на органе управления ручным приводом подъемного устройства в соответствии с 15.1.1.5 |
| 7.5 |
Испытания функциональной работоспособности и прочности (грузоподъемности) рампы в соответствии с 15.5.1, 15.5.2, 15.5.4, 15.5.5. Измерения геометрических параметров рампы в соответствии с таблицей Е.1 приложения Е (параметр 2.3.1 - 2.3.3). Визуальный контроль перекрытия расстояния между полом вагона и поверхностью пассажирской платформы. Испытания по определению времени полного цикла работы выдвижной рампы в соответствии с 15.5.6 |
| 7.5.1 |
Визуальный контроль наличия защитных боковых барьеров. Измерения параметров барьеров в соответствии с таблицей Е.1 (параметр 2.3.4) |
| 7.5.2 | Визуальный контроль наличия устройства фиксации приставной рампы в рабочем положении, проверка работоспособности выдвижной (откидной) рампы, в том числе проверка наличия защиты от приведения рампы в рабочее положение без участия проводника (помощника машиниста) - в испытаниях по 15.5.1 |
| 7.6 | Визуальный контроль наличия противоскользящего покрытия (иных средств, препятствующих проскальзыванию колес кресла-коляски), наличия выступов, отверстий (углублений) |
| 7.7 |
Визуальный контроль контрастности окраски вспомогательных посадочных устройств. Измерения параметров элементов окраски (в случае обеспечения контрастности нанесением чередующихся полос) в соответствии с таблицей Е.1 (параметры 2.4.1 - 2.4.2) |
| 7.8 | Испытания по определению освещенности поверхности вспомогательного посадочного устройства в соответствии с 15.6 |
| 7.9 | Визуальный контроль наличия таблички с указаниями и поясняющими графическими изображениям или места для размещения инструкции |
| 8.1 | Визуальный контроль наличия поручней (стоек) и оценка возможности держаться за них руками снаружи вагона во время посадки в вагон [по результатам измерений параметров, указанных в 8.4 - 8.6 и с учетом данных приложения В)]. |
| 8.2 |
Визуальный контроль наличия (отсутствия) оборудования, ограничивающего (затрудняющего): а) проход (при прямолинейном движении) или маневрирование (в местах поворота коляски на 90°); б) разворот (в местах, где необходим разворот коляски на пути к размещению пассажира-инвалида). При наличии такого оборудования:
|
| 8.3, 8.4, 8.5, 8.6 | Измерения в соответствии с таблицей Е.1 (параметры 3.1.1 - 3.1.4) |
| 8.7 | Визуальный контроль контрастности цвета поручней и стоек |
| 9.1 |
Визуальный контроль наличия порогов, ступеней, уклонов, наличия покрытия, препятствующего скольжению (иных средств, предотвращающих проскальзывание колес кресла-коляски), в местах размещения и передвижения пассажиров-инвалидов внутри вагона. Измерения параметров порогов (ступенек), уклонов (при их наличии) в соответствии с таблицей Е.1 (параметры 3.2.1 - 3.2.2). Контроль требований к устройству для подъема и перемещения пассажира-инвалида в вагоне (при наличии):
|
| 9.2 | Визуальный контроль наличия необходимого количества мест для размещения пассажиров-инвалидов и сопровождающих |
| 9.2.1 | Визуальный контроль размещения зоны (площадки) с местами для инвалидов |
| 9.2.2 |
Визуальный контроль оборудования мест (площадок) размещения пассажиров-инвалидов. Обобщение (анализ) результатов контроля выполнения требований к удерживающей системе крепления, изложенных в 12.1 - 12.3, требований к устройству связи, изложенных в 13.2. В случае ограждения зоны для инвалида и при наличии спального места для инвалида контроль требований к средствам для крепления кресел-колясок:
|
| 9.2.3 | Измерения параметров места (площадки), предназначенного для размещения кресла-коляски в соответствии с таблицей Е.1 (параметр 3.4) |
| 9.2.4 | Визуальный контроль расположения кресла относительно продольной оси вагона и наличия дополнительного оборудования в случае размещения кресла по поперечной оси вагона |
| 9.3 | Визуальный контроль наличия индивидуальных посадочных мест |
| 9.3.1 | Визуальный контроль оборудования индивидуальных посадочных мест, позволяющего пассажиру-инвалиду пересесть на это место из кресла-коляски (наличие откидных подлокотников и т.п.) |
| 9.3.2 |
Визуальный контроль наличия места и оборудования для крепления сложенного кресла-коляски и индивидуальных вспомогательных средств для передвижения. Проверка работоспособности крепления вспомогательных средств передвижения по 15.1.1.4. Испытания работоспособности и прочности крепления кресла по 15.7.1.2 |
| 9.4 | Измерения параметров свободной площади для маневрирования в салоне на пути к месту размещения пассажира-инвалида в соответствии с таблицей Е.1 (параметр 3.3.4). Обобщение (анализ) результатов контроля требований 9.6 |
| 9.5, 9.5.1, 9.5.2 |
Визуальный контроль наличия индивидуального управления, обеспечивающего открытие дверей вручную (ручки, кнопки) или автоматически (при приближении пассажира), устройства фиксации проходных дверей (с проверкой работоспособности в соответствии с 15.1.1.4), наличия визуальных указателей (на двери из прозрачного материала). Измерения ширины проема проходных дверей в свету и высоты размещения ручек (или иных органов управления дверями) в соответствии с таблицей Е.1 (параметры 3.5.1 - 3.5.2). |
| 9.5.3 | Визуальный контроль наличия защитных элементов. При их наличии измерение высоты их размещения от пола. |
| 9.6 | Измерения ширины проходов в соответствии с таблицей Е.1 (параметры 3.3.1 - 3.3.3). |
| 9.7 |
Визуальный контроль планировки и оборудования части купейного вагона, предназначенной для пассажиров-инвалидов. Обобщение (анализ) результатов контроля планировки и оборудования:
|
| 9.7.1 | Измерения ширины тамбура в соответствии с таблицей Е.1 (параметр 3.3.2) |
| 9.7.2 |
Визуальный контроль наличия фиксации двери в открытом положении, проверка работоспособности в соответствии с 15.1.1.4. Измерение ширины проема двери в свету и высоты порога в соответствии с таблицей Е.1 (параметр 3.5.1, 3.2.1) |
| 9.7.3 |
Визуальный контроль планировки и оборудования коридора нетормозного конца вагона. Измерения параметров:
|
| 10.1 перечисления |
Визуальный контроль наличия пространства для маневрирования, места для размещения кресла-коляски и багажа. Измерения свободного пространства купе в соответствии с таблицей Е.1: |
| а) 10.1 | (параметр 3.3.5, |
| б) 10.1 | параметр 3.4) |
| 10.1.1 | Визуальный контроль наличия места для расположения кресла-коляски. Требование считается выполненным при возможности размещения кресла-коляски в непосредственной близости (рядом) с креслом-сиденьем (см. результаты контроля требования, изложенного в перечислении б) 10.1) |
| 10.1.2 |
Визуальный контроль наличия оборудования для крепления кресла-коляски (в рабочем положении или сложенном). Испытания работоспособности и прочности оборудования для крепления - в соответствии с 15.7.1.2. |
| 10.2 | Визуальный контроль наличия оборудования купе, указанного в 10.2 |
| 10.2.1 |
Визуальный (и/или осязательный) контроль наличия мягких элементов дивана, наличия (и расположения органа управления приводом) механизма изменения наклона дивана. Мягким считается элемент, который имеет способность к продавливанию нажатием пальца и возвращается в исходное положение после снятия нагрузки, а будучи сжатым, сохраняет способность защищать от прямого контакта с поверхностью, которую он покрывает. Контроль доступности органа управления приводом механизма изменения угла наклона дивана во всех положениях (углах наклона) головной части дивана, исходя из результатов измерения расстояния от центра дивана до органа управления и зоны досягаемости по приложению В. Контроль функциональной работоспособности механизма изменения наклона дивана (в том числе фиксации в промежуточных положениях) в соответствии с 15.1.1.4. Измерения:
|
| 10.2.2 |
Визуальный контроль наличия бортика и фиксации его в вертикальном положении. Измерения высоты бортика в соответствии с таблицей Е.1 (параметр 4.1.3). |
| 10.2.3 |
Измерения параметров сиденья в соответствии с таблицей Е.1 (параметр 4.4.1). При установке кресла-сиденья - визуальный контроль наличия подголовника кресла, откидных подлокотников, опоры для голени и стоп. Контроль функциональной работоспособности (откидывания) подлокотников в соответствии с 15.1.1.4 |
| 10.2.4 |
Визуальный контроль расположения столика. Измерения высоты столешницы в соответствии с таблицей Е.1 (параметр 4.5.1) |
| 10.2.5 | Измерения параметров поручней в соответствии с таблицей Е.1 приложения Е (параметр 3.1.1). |
| 10.2.6 | Измерения параметров расположения зеркала в соответствии с таблицей Е.1 (параметр 4.6.1) |
| 10.2.7 | Измерения параметров двери в соответствии с таблицей Е.1 (параметры 4.7.1, 4.7.2). |
| 10.2.8 | Визуальный контроль наличия информации для пассажиров-инвалидов на дверях купе |
| 10.2.9 | Измерения высоты расположения выключателей, ручек, кнопок, розеток и других элементов, предназначенных для пользования пассажирами-инвалидами, в соответствии с таблицей Е.1 (параметр 1.2.1) |
| 10.4 |
Визуальный контроль наличия мест для пассажиров-инвалидов и сопровождающих. Визуальный контроль оборудования индивидуального посадочного места: наличие подголовника кресла-сиденья, откидных подлокотников, опоры для голени и стоп. Контроль функциональной работоспособности в соответствии с 15.1.1.4. Измерения параметров подушки сиденья в соответствии с таблицей Е.1 (параметр 4.4.1). Контроль наличия возможности пассажиру-инвалиду пересесть на индивидуальное посадочное место из кресла-коляски (наличие свободного пространства для размещения кресла-коляски в соответствии с таблицей Е.1 (параметр 3.4) Требование считается выполненным при наличии свободной площади для размещения кресла-коляски в непосредственной близости (рядом) с креслом-сиденьем. Измерения высоты расположения выключателей, ручек, кнопок, розеток и других элементов, предназначенных для пользования пассажирами-инвалидами в соответствии с таблицей Е.1 (параметр 1.2.1) |
| 10.4.1 |
Визуальный контроль наличия места для размещения (и оборудования для крепления) сложенного кресла-коляски и индивидуальных вспомогательных средств для передвижения. Проверка работоспособности крепления вспомогательных средств передвижения по 15.1.1.4. Испытания работоспособности и прочности оборудования для крепления кресла - в соответствии с 15.7.1.2. |
| 10.4.2 |
Визуальный контроль оборудования купе вагона категории 2б. Результаты контроля требований, изложенных в 8.2 - 8.7, 10.2.7, 10.2.8 |
| 10.4.3 | Измерения свободного пространства купе в соответствии с таблицей Е.1 (параметр 3.3.5). |
| 11.1 | Обобщение (анализ) результатов контроля требований, изложенных в 11.1.1, 11.1.2 |
| 11.1.1 |
Визуальный контроль возможности размещения кресла-коляски рядом с унитазом. Измерения свободной площади пола сбоку от унитаза в соответствии с таблицей Е.1 (параметр 5.2) |
| 11.1.2 | Измерения свободной площади для маневрирования в соответствии с таблицей Е.1 (параметр 5.3) |
| 11.2 | Визуальный контроль наличия оборудования санузла, измерение в соответствии с таблицей Е.1 (параметр 5.9) |
| 11.2.1 | Измерения высоты унитаза в соответствии с таблицей Е.1 (параметр 5.4) |
| 11.2.2 |
Визуальный контроль наличия и расположения поручней. Измерения высоты и длины поручней, расстояния между ними в соответствии с таблицей Е.1 (параметр 5.5.1). Контроль функциональной работоспособности поручней (поворотных или откидных) в соответствии с 15.1.1.4 |
| 11.2.3 |
Визуальный контроль наличия и расположения органа управления приводом слива унитаза. Измерения в соответствии с таблицей Е.1 (параметр 6). Контроль функциональной работоспособности в соответствии с 15.1.1.4 |
| 11.2.3.1 | Визуальный контроль наличия дополнительной горизонтальной опоры. Измерение высоты опоры аналогично измерению по 5.5.1.2 таблицы Е.1 |
| 11.2.3.2 | Визуальный контроль наличия ножного привода сливом унитаза (при наличии соответствующего требования в технической документации). Контроль функциональной работоспособности в соответствии с 15.1.1.4 |
| 11.2.4 | Измерения параметров раковины в соответствии с таблицей Е.1 (параметр 5.6.1) Визуальный контроль наличия ниши умывальника |
| 11.2.4.1 | Измерения параметров ниши раковины в соответствии с таблицей Е.1 (параметры 5.6.2 - 5.6.3) |
| 11.2.4.2 | Визуальный контроль наличия кранов рычажного (нажимного) или сенсорного действия (в соответствии с требованиями технической документации). Контроль функциональной работоспособности в соответствии с 15.1.1.4 |
| 11.2.5 - 11.2.7 | Измерения высоты расположения оборудования в санузле в соответствии с таблицей Е.1 (параметр 5.7) |
| 11.2.8 |
Измерения параметров дверного проема в соответствии с таблицей Е.1 (параметр 5.8). Измерение высоты размещения органов управления дверями в соответствии с таблицей Е.1 (параметр 5.1) |
| 11.2.9 | Визуальный контроль наличия надписи (пиктограммы) и информации, выполненной рельефно-точечным шрифтом (Брайля) |
| 12.1 | Проверка работоспособности механизма фиксации кресла-коляски приведением его в действие испытателем, находящимся в кресле [закрепление (положение "закрыто") и открепление (положение "открыто")], а также проведением испытаний в соответствии с 15.7.1.1 |
| 12.2 | Визуальный контроль размещения оборудования удерживающей системы крепления кресла-коляски (на наличие свободного пространства для проходов пассажиров и размещения стоя при отсутствии пассажиров-инвалидов) |
| 12.3 | Визуальный контроль наличия инструкции |
| 13.1 |
Визуальный контроль наличия табличек с необходимой для пользования информацией, нанесенной шрифтом (Брайля). Измерения параметров расположения приборов и устройств управления и регулирования системами отопления, вентиляции, электрическим и санитарно-техническим оборудованием и др. в соответствии с таблицей Е.1 (параметры 5.9, 6). Проверка функциональной работоспособности в соответствии с 15.1.1.4 (возможность приведения в действие одной рукой) |
| 13.2 | Контроль функциональной работоспособности системы сигнализации, переговорного устройства в соответствии с 15.1.1.4 |
| 13.3, 13.3.1 - 13.3.4 |
Визуальный контроль наличия и функционирования систем информирования пассажиров-инвалидов и состава информации:
|
| 13.4 | Визуальный контроль исполнения надписей и пиктограмм |
| 14.1 - 14.6 | Визуальный контроль |
Приложение Е
(обязательное)ОПРЕДЕЛЕНИЕ ГЕОМЕТРИЧЕСКИХ ПАРАМЕТРОВ ПЛАНИРОВКИ, ОБОРУДОВАНИЯ И СПЕЦИАЛЬНЫХ УСТРОЙСТВ ВАГОНОВ С МЕСТАМИ ДЛЯ ПАССАЖИРОВ-ИНВАЛИДОВ
Е.1 Методы определения геометрических параметров планировки, оборудования и специальных устройств вагонов с местами для инвалидов в креслах-колясках представлены в таблице Е.1.
Таблица Е.1
| Наименование параметра | Номер структурного элемента настоящего стандарта | Метод определения параметра (способ измерения) |
| 1 Параметры наружных входных дверей | ||
| 1.1 Параметры проема входных дверей, мм | ||
| 1.1.1 ширина проема (в свету) | 6.1 |
По горизонтальной плоскости [на расстоянии (700 +/- 100) мм от плоскости пола] между вертикальными плоскостями (по перпендикуляру к ним), проходящими через боковые поверхности (элементы двери, дверной коробки), ограничивающие проход:
|
| 1.1.2 высота проема (в свету) | 6.1 | Высота проема по оси симметрии проема (лежащей в вертикальной плоскости). |
| 1.2 Параметры устройств открывания наружных дверей (и других кнопок и устройств в вагоне), мм | ||
| 1.2.1 высота размещения кнопок подачи сигнала: |
По вертикали: а) от уровня поверхности посадочной станционной платформы до кнопки (кнопок) подачи сигнала снаружи вагона (ось, центр); |
|
| а) снаружи вагона; | 6.2.1, 6.3 | |
| б) внутри вагона (в салоне или тамбуре), а также высота размещения выключателей общего и местного освещения, ручек регулировки громкости радиотрансляции, привода механизма солнцезащитной шторы, электрической розетки, кнопки вызова, устройства связи с поездным персоналом в салоне) | 6.2.1 10.2.9, 13.2 |
б) от уровня поверхности пола тамбура (или салона - при размещении кнопки в зоне размещения пассажира-инвалида) до кнопки подачи сигнала внутри вагона (ось, центр). То же для иных кнопок, выключателей, ручек, розеток, предназначенных для пользования пассажирами-инвалидами. Примечание - Для подтверждения размещения кнопки подачи сигнала по 6.2.1 "в непосредственной близости от наружной входной двери вагона" рекомендуется проводить измерение расстояния (кратчайшего) от кнопки до входной двери (ближайшей боковой поверхности) |
| 1.2.2 Параметры кнопки для подачи сигнала машинисту и/или проводнику | 6.2.2, 6.3 |
Длина и ширина (кнопок прямоугольного исполнения) по линиям симметрии в плоскости тактильного соприкосновения. Диаметр (кнопок круглого исполнения) |
| 2 Параметры вспомогательных посадочных устройств | ||
| 2.1 Параметры подъемного устройства, мм | ||
| 2.1.1 Ширина: | По оси симметрии опорной поверхности платформы (без учета выдвижной части) при нахождении ПУ в рабочем положении от одного края (длинной стороны платформы) до противоположного края | |
|
7.4 | |
| - горизонтальной площадки | 9.1 | |
| 2.1.2 Длина: | По горизонтали вдоль направления въезда (съезда) на платформу (с платформы) между крайними частями опорной поверхности платформы при нахождении ПУ в рабочем положении, с учетом откидных элементов (при их наличии), формирующих опорную (рабочую) поверхность на высоте не менее 50 мм от опорной поверхности | |
| - платформы | 7.4 | |
|
9.1 | |
| 2.1.3 Перепад высот между полом вагона и поверхностью платформы подъемного устройства (в рабочем положении), установленной на уровне пола вагона | 7.4 | По вертикали между уровнями разновысоких опорных поверхностей |
| 2.1.4 горизонтальный зазор между порогом вагона и передним краем поверхности платформы подъемного устройства (в рабочем положении), установленной на уровне пола вагона | 7.4 | По линии, перпендикулярной вертикальным плоскостям, проходящим через передний край поверхности площадки подъемника и край порога входных дверей, обращенный к подъемнику |
| 2.2 Параметры поручней, защитных барьеров, откидных бортиков подъемного устройства, мм | ||
| 2.2.1 Высота нижней части поручней над полом площадки | 7.4.1.1, 9.1 | По вертикали от уровня поверхности платформы подъемного устройства до нижней части поручней |
| 2.2.2 Высота верхней части поручней над полом площадки | 7.4.1.1, 9.1 | По вертикали от уровня поверхности платформы подъемного устройства до верхней части поручней |
| 2.2.3 Длина рабочей поверхности поручня | 7.4.1.1, 9.1 | Вдоль поручня по длине опорной поверхности верхней части поручней |
| 2.2.4 Поперечное сечение поручней | 7.4.1.1, 9.1 |
Диаметр (при некруглой форме - периметр) поперечного сечения поручня (в центре рабочей поверхности) Примечание - Некруглая (близкая к круглой) форма сечения поручня является эквивалентной (по поверхности обхвата рукой) круглой форме сечения диаметром от 30 до 45 мм, если периметр некруглого сечения находится в пределах от π30 до π45 мм; |
| 2.2.5 Расстояние между поручнем и краем платформы, примыкающим к проему двери вагона | 7.4.1.1 | По горизонтали между вертикальными плоскостями, параллельными двери вагона и проходящими через края (одна - поручня, другая - платформы), примыкающие к проему двери вагона |
| 2.2.6 Высота боковых барьеров платформы подъемного устройства подъемника | 7.4.1.2, 9.1 | По вертикали от уровня поверхности платформы подъемного устройства до горизонтальной плоскости, проходящей через верх барьеров (откидных бортиков) |
| и высота зафиксированных в поднятом положении откидных бортиков) | 7.4.2 | |
| 2.3 Параметры рампы | ||
| 2.3.1 Ширина рабочей поверхности, мм | 7.5 | По оси симметрии поверхности рампы от одного края (длинной стороны) до противоположного края |
| 2.3.2 Перепад высот между полом вагона и поверхностью выдвижной (откидной) или приставной рампы (в рабочем положении), а также между поверхностью выдвижной или приставной и пассажирской платформой, мм | 7.5 | По вертикали между уровнями разновысоких опорных поверхностей |
| 2.3.3 Угол наклона (уклон поверхности, в процентах) выдвижной (откидной) или приставной рампы, в градусах | 7.5 | Измеряется угол между плоскостью, проходящей через поверхность рампы в рабочем положении и горизонтальной плоскостью. Уклон (%) численно равен тангенсу этого угла, умноженному на 100 |
| 2.3.4 Высота боковых барьеров рампы, мм | 7.5.1 | По вертикали от уровня поверхности рампы до горизонтальной плоскости, проходящей через верх барьеров |
2.4 Параметры элементов окраски:
|
||
| 2.4.1 Угол полосы к вертикали, в градусах | 7.7 | Угол (в плоскости нанесения полос) между краем полосы и вертикалью |
| 2.4.2 Расстояние между полосами, мм | 7.7 | По перпендикуляру к краю полосы (в плоскости нанесения полос) |
| 3 Параметры салона | ||
| 3.1 Опорные устройства в пассажирском салоне, коридоре, купе, мм | ||
| 3.1.1 Высота расположения рабочих участков горизонтальных поручней | 8.3, 9.7.3, 10.2.5 | По вертикали от уровня поверхности пола до верхней опорной поверхности рабочего участка поручня |
| 3.1.2 Поперечное сечение поручней и стоек | 8.4 |
Диаметр (при некруглой форме - периметр) поперечного сечения поручня, стойки (в центре рабочей поверхности) Примечание - Некруглая (близкая к круглой) форма сечения поручня является эквивалентной (по поверхности обхвата рукой) круглой форме сечения диаметром от 30 до 45 мм, если периметр некруглого сечения находится в пределах от π30 до π45 мм; |
| 3.1.3 Расстояние между поручнем (стойкой) и ближайшей поверхностью оборудования или стенкой в свету | 8.5 | По линии, перпендикулярной вертикальной плоскости, проходящей через боковую (ближайшую к стенке) опорную поверхность поручня, от этой плоскости до поверхности стенки (или оборудования), у которой расположен поручень |
| 3.1.4 Длина рабочей поверхности опорного устройства | 8.6 | Вдоль опорного устройства (поручня, стойки, ручки) по его длине (верхней, или боковой части) |
| 3.2 Параметры порогов, ступеней, уклонов в местах размещения и передвижения пассажиров-инвалидов внутри вагона | ||
| 3.2.1 Высота порогов (ступенек или перепад высот в дверных проемах), мм | 9.1, 9.7.2 |
По вертикали от уровня поверхности пола до верхней поверхности порога (между разновысокими уровнями ступеньки или поверхности пола в дверных проемах) |
| 3.2.2 Уклон поверхности пола, в процентах | 9.1 | Угол между поверхностью наклонного участка пола и горизонтальной поверхностью |
| 3.3 Параметры проходов и свободной площади для маневрирования (разворота) на пути к месту размещения пассажира-инвалида, мм | ||
| 3.3.1 Ширина прохода для проезда кресел-колясок в салоне | 9.4, 9.6 | По плоскости пола между вертикальными плоскостями, проходящими по наиболее выступающим в проход элементам пассажирских кресел, диванов |
| 3.3.2 Ширина прохода (коридора) для проезда кресел-колясок от входной двери к месту размещения | 8.2, 9.6, 9.7.1, 9.7.3 |
По плоскости пола между стенами или вертикальными плоскостями, проходящими по наиболее выступающим в проход элементам поручней, ручек, стоек (иного оборудования), расположенным на высоте от 400 до 700 мм от пола (при их наличии). Измерение проводится на всех участках прохода, отличающихся по ширине. Примечание - При контроле соответствия ширины коридора с непараллельными стенами размеру a [рисунок А.1, вариант 2 (приложение А)] проверяют отсутствие препятствий, уменьшающих ширину коридора (относительно размера a) в зоне маневрирования у входных дверей в купе и туалет, по длине коридора от точки c, указанной на рисунке А.1 (вариант 2), на расстоянии не менее величины b |
| 3.3.3 Длина участка прохода | 9.6, 9.7.1 |
По плоскости пола между вертикальными плоскостями, разграничивающими участки с разной шириной прохода. Примечание - Измерения длины участка прохода обязательны для участков с шириной прохода менее 820 мм |
| 3.3.4 Параметры свободной площади для разворота кресла-коляски (с инвалидом) в салоне на пути к месту размещения инвалида | 8.2, 9.4 |
По плоскости пола - параметры геометрической фигуры, расположенной между вертикальными плоскостями стен или вертикальными поверхностями, проходящими по выступающим частям оборудования, ограничивающего перемещение кресла-коляски на высоте от 50 до 220 мм от пола. Геометрическая фигура должна обеспечивать ширину разворота в соответствии с рисунком Б.2 (приложение Б) |
| 3.3.5 Размеры участков маневрирования (разворота) пассажира-инвалида в кресле-коляске в купе | 10.4.3, перечисление а) 10.1 | |
| 3.4 Размеры места (площадки) для размещения кресла-коляски с находящимся в ней пассажиром-инвалидом, мм | 9.2.3, перечисление б) 10.1 | По плоскости пола длина и ширина места (площадки) для размещения кресла-коляски (с учетом размеров удерживающей системы крепления) |
| 3.5 Параметры внутренних проходных дверей, мм | ||
| 3.5.1 Ширина дверного проема (в свету) | 9.5, 9.7.2 |
По горизонтальной плоскости [на расстоянии (700 +/- 100) мм от плоскости пола] между вертикальными плоскостями (по перпендикуляру к ним), проходящими через боковые поверхности (элементы двери, дверной коробки), ограничивающие проход:
|
| 3.5.2 Высота размещения ручек дверей и иных органов управления дверями | 5.3, 9.5.2 | По вертикали от уровня поверхности пола тамбура или салона до ручки или иного органа управления (ось, центр) |
| 4 Параметры оборудования купе | ||
| 4.1 Параметры оборудования нижнего спального места в купе, мм | ||
| 4.1.2 Параметры дивана | ||
| 4.1.2.1 длина дивана | 10.2.1 | По горизонтали между вертикальными плоскостями, проходящими через края дивана (головной и ножной) |
| 4.1.2.2 ширина дивана | 10.2.1 | По горизонтали между вертикальными плоскостями, проходящими через боковые (длинные) края дивана |
| 4.1.3 Высота откидного предохранительного бортика спального места | 10.2.2 | По вертикали от плоскости спального места (верхней поверхности чехла дивана) до горизонтальной плоскости, проходящей через верхний край бортика |
| 4.2 Параметры поручня, мм | ||
| 4.2.1 Высота расположения поручня | 10.2.1 | По вертикали между горизонтальными плоскостями, проходящими через нижнее спальное место и верхний край поручня |
| 4.2.2 Длина поручня | 10.2.1 | По верхней кромке рабочей опорной поверхности |
| 4.3 Параметры органа управления приводом механизма изменения наклона дивана | ||
| 4.3.1 Угол наклона части нижнего спального места, в градусах | 10.2.1 |
Между горизонтальной плоскостью нижнего спального места и плоскостью поднятой головной части в каждом из промежуточных фиксируемых положений Примечание - При наличии механизмов изменения углов наклона головной и ножной части дивана измерения проводятся с обеих сторон |
| 4.4 Кресло-сиденье в купе | ||
| 4.4.1 Ширина сиденья, мм | 10.2.3 |
Между боковыми краями сиденья (мягкого элемента) по линии, параллельной переднему краю сиденья на расстоянии 120 мм от вертикальной плоскости, проходящей через крайнюю переднюю точку спинки (вершину поясничной опоры). Примечание - Если кресло имеет механизм регулирования наклона спинки, измерения проводят при фиксации спинки в положении, наиболее близком к вертикальному |
| 4.5 Подоконный столик | ||
| 4.5.1 Высота столешницы, мм | 10.2.4 | По вертикали от плоскости пола до нижней поверхности столешницы |
| 4.6 Параметры зеркала | ||
| 4.6.1 Высота зеркала, мм | 10.2.6 | По вертикали от плоскости пола до горизонтальной плоскости, проходящей через нижний край зеркала |
| 4.7 Дверь (раздвижная) в купе с местами для пассажиров-инвалидов, мм | ||
| 4.7.1 Ширина проема (в свету) | 10.2.7 | По горизонтальной плоскости [на расстоянии (700 +/- 100) мм от плоскости пола] между вертикальными поверхностями, проходящими через боковые поверхности дверного проема, ограничивающие проход при полностью открытой раздвижной двери |
| 4.7.2 Высота направляющей раздвижной двери (порога) | 10.2.7 | По вертикали от плоскости пола до горизонтальной плоскости, проходящей через верхний край направляющей (порога) |
| 4.8 Размещение выключателей, ручек, кнопок, розеток, др. элементов управления | ||
| 4.8.1 Высота размещения, мм | 10.2.9 | По вертикали от плоскости пола до элемента управления (до оси, центра) |
| 5 Параметры санузла и его оборудования, мм | ||
| 5.1 Высота размещения ручек (иных органов управления дверями в санузле) | 11.2.8 | По вертикали от уровня поверхности пола коридора и санузла до ручки или иного органа управления (ось, центр) |
| 5.2 Размеры места (площадки) для размещения кресла-коляски (сбоку от унитаза) | 11.1.1 |
По плоскости пола длина и ширина места (площадки) для размещения кресла-коляски. Требование считается выполненным при наличии места для размещения кресла-коляски в непосредственной близости от унитаза (сбоку от него) |
| 5.3 Параметры свободной площади для разворота кресла-коляски (с инвалидом) в санузле | 11.1.2 |
По плоскости пола - параметры геометрической фигуры, расположенной между вертикальными плоскостями стен или вертикальными поверхностями, проходящими по выступающим частям оборудования, ограничивающего перемещение кресла-коляски на высоте от 50 до 220 мм от пола. Требование считается выполненным, если в измеренную геометрическую фигуру вписывается круг диаметром 1400 мм |
| 5.4 Высота унитаза | 11.2.1 | По вертикали от плоскости пола (опорной поверхности для ног перед унитазом) до плоскости, проходящей через верхнюю часть сиденья |
| 5.5 Параметры поручней в санузлах в вагонах с местами для пассажиров-инвалидов | ||
| 5.5.1 Параметры горизонтальных поручней с обеих сторон унитаза | ||
| 5.5.1.1 Выступание переднего края горизонтальных поручней за передний край унитаза | 11.2.2 | По горизонтали от переднего края поручня до вертикальной плоскости, проходящей через передний край унитаза |
| 5.5.1.2 Высота расположения | 11.2.2 | По вертикали от поверхности при наличии напольного коврика от его поверхности) до верхней опорной поверхности |
| 5.5.1.3 Расстояние между поручнями | 11.2.2 | По линии, перпендикулярной горизонтальным осям поручней |
| 5.5.1.4 Высота дополнительной горизонтальной опоры | 11.2.3.1 | По вертикали от поверхности пола (напольного коврика при его наличии) до верхней опорной поверхности горизонтальной опоры |
| 5.5.1.5 Поперечное сечение поручней | 11.2.2 | В соответствии с измерением параметра 3.1.2 данной таблицы |
| 5.6 Параметры раковины умывальника | ||
| 5.6.1 Высота верхнего (и нижнего) края раковины | 11.2.4 | По вертикали от плоскости пола до горизонтальной плоскости, проходящей через верхний (и нижний) край |
| 5.6.2 Параметры ниши под раковиной для размещения коленей | ||
| 5.6.2.1 Глубина | 11.2.4.1 | В горизонтальной плоскости, расположенной на высоте (от пола) переднего края ниши для стоп ног, от этого края по оси симметрии ниши до вертикальной плоскости, проходящей через передний край раковины (столешницы с раковиной) |
| 5.6.2.2 Удаленность переднего края раковины от опорной стены | 11.2.4.1 | По перпендикуляру от опорной стены до вертикальной плоскости, проходящей через передний край раковины |
| 5.6.3 Параметры ниши под раковиной для размещения стоп | ||
| 5.6.3.1 Высота | 11.2.4.1 | По вертикали от плоскости пола до горизонтальной плоскости, проходящей через передний край ниши для стоп ног |
| 5.6.3.2 Глубина | 11.2.4.1 | В горизонтальной плоскости, расположенной на высоте от пола 300 мм, от задней стенки ниши для стоп ног по оси симметрии ниши до вертикальной плоскости, проходящей через передний край ниши для стоп ног |
| 5.7 Высота расположения оборудования в санузле | 11.2.5, 11.2.6, 11.2.7 | По вертикали от плоскости пола до плоскости, проходящей через нижний край зеркала, держателя туалетной бумаги, носика смесителя и дозатора жидкого мыла (при наличии), ершика (при наличии), электрического прибора для сушки рук (при наличии), емкостей для бумажных полотенец и гигиенических накладок, верхнего края крючка (вешалки) для полотенца, центра розетки |
| 5.8 Параметры двери санузла | ||
| 5.8.1 Ширина проема в свету | 11.2.8 | По горизонтали (на расстоянии (700 +/- 100) мм от плоскости пола) между вертикальными плоскостями, проходящими через боковые поверхности дверного проема, ограничивающие проход при полностью открытой раздвижной двери |
| 5.8.2 Высота нижней направляющей раздвижной двери (порога) | 11.2.8 | По вертикали от плоскости пола до горизонтальной плоскости, проходящей через верхний край нижней направляющей (порога) |
| 5.9 Высота расположения устройств сигнализации и/или связи с поездным персоналом) в санузле | 11.2 | По вертикали от уровня поверхности пола санузла до устройства вызова или связи (ось, центр) и по горизонтали от вертикальной плоскости, проходящей через край унитаза (ближайший к устройству вызова) до устройства вызова или связи |
| 6 Высота размещения приборов и устройств управления и регулирования механизмами или техническими системами обслуживания пассажиров-инвалидов, мм | 11.2.3, 13.1 | По вертикали от уровня поверхности пола до ручки или иного органа управления (ось, центр) |
| УДК 629.4.018:629.4.042:629.4.044:629.4.046:006.354 | МКС 45.060 |
| Ключевые слова: пассажирские вагоны, моторвагонный подвижной состав, доступность, проезд пассажиров-инвалидов, технические требования, методы контроля, вспомогательные посадочные устройства, средства информационного обеспечения, средства сигнализации, информации и связи | |






